lemon-mirror:
Home >> Honda >> 2011 >> Civic Si L4-2.0L >> Repair and Diagnosis >> Powertrain Management >> Ignition System >> Ignition Timing >> Testing and Inspection

Ignition Timing: Testing and Inspection




Ignition Timing Inspection

1. Connect the HDS to the DLC.

2. Turn the ignition switch to ON (II).

3. Make sure the HDS communicates with the vehicle and the ECM. If it does not communicate, troubleshoot the DLC circuit Testing and Inspection.

4. Check for DTCs Initial Inspection and Diagnostic Overview. If a DTC is present, diagnose and repair the cause before continuing with this test.

5. Start the engine. Hold the engine speed at 3,000 rpm with no load (in neutral) until the radiator fan comes on, then let it idle.

6. Check the idle speed Testing and Inspection.

7. Jump the SCS line with the HDS.

8. Connect the timing light to the service loop (white tape).






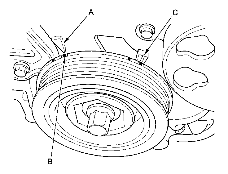
9. Aim the light toward the pointer (A) on the cam chain case. Check the ignition timing under a no load condition (headlights, blower fan, rear window defogger, and air conditioner are turned off).

NOTE: The other pointer (C) is not used.









10. If the ignition timing differs from the specification, check the cam timing. If the cam timing is OK, update the ECM if it does not have the latest software ECM/PCM Update, or substitute a known-good ECM, then recheck. If the system work properly, and the ECM was substituted, replace the original ECM Service and Repair.

11. Disconnect the HDS and the timing light.