lemon-mirror:
Home >> Honda >> 2010 >> Pilot 2WD V6-3.5L >> Repair and Diagnosis >> Heating and Air Conditioning >> Humidity Sensor >> Service and Repair

Humidity Sensor: Service and Repair




Humidity/In-Car Temperature Sensor Replacement

1. Remove the driver's dashboard lower cover Driver's Dashboard Lower Cover Removal/Installation.

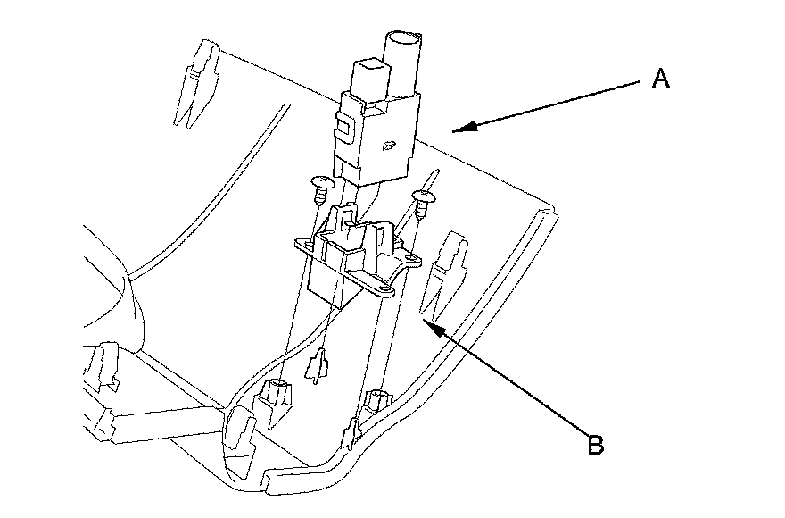
2. Remove the humidity/in-car temperature sensor (A) from the dashboard lower cover. If needed, remove the self-tapping screws and adapter (B).





3. Install the sensor in the reverse order of removal. Be sure to connect the air hose securely.