lemon-mirror:
Home >> Honda >> 2010 >> Pilot 2WD V6-3.5L >> Parts and Labor >> Powertrain Management >> Emission Control Systems >> Images

Images

Converter:



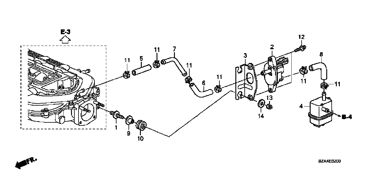
Engine Compartment Tubing:



Exhaust Pipe:



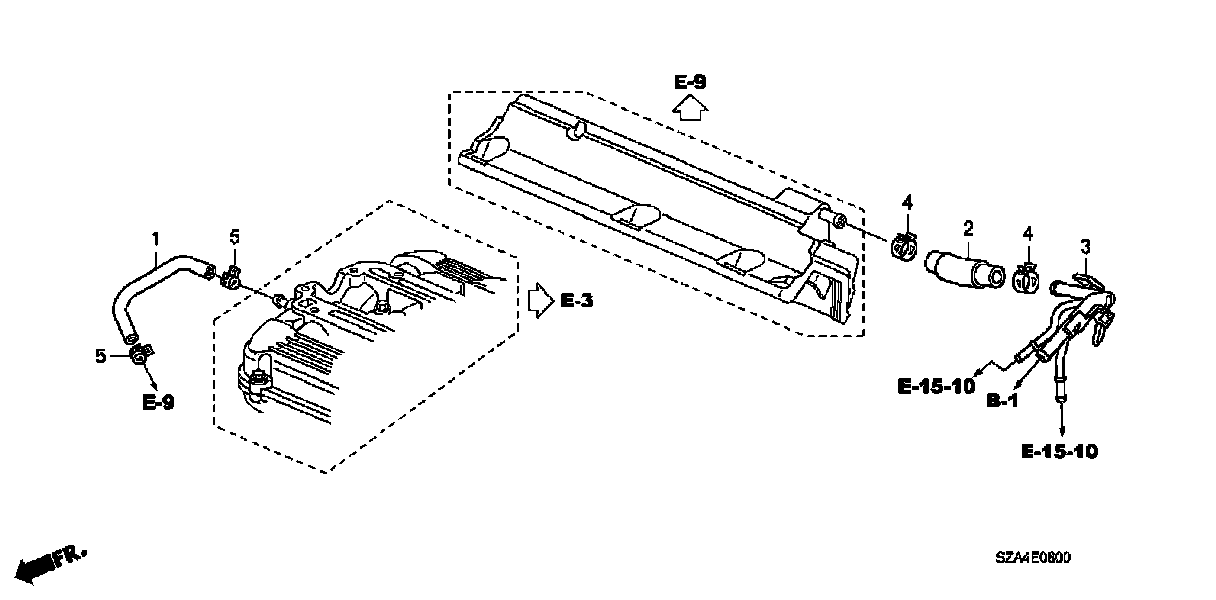
Breather Tube: