lemon-mirror:
Home >> Honda >> 2010 >> Insight L4-1.3L Hybrid >> Parts and Labor >> Powertrain Management >> Emission Control Systems >> Images

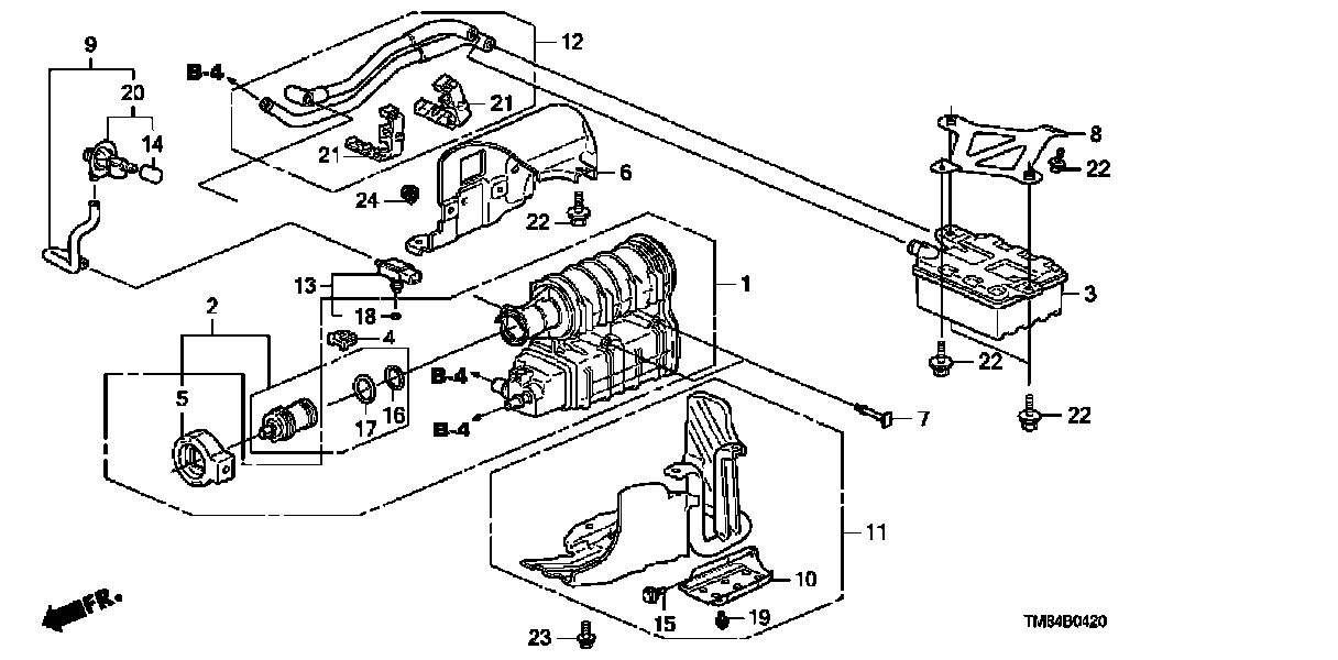
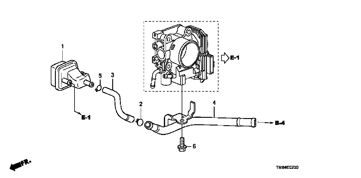
Images

Converter:



Canister Tubing:



PCV Tube:



Purge Control:



Exhaust Pipe: