lemon-mirror:
Home >> Honda >> 2010 >> Element 2WD L4-2.4L >> Repair and Diagnosis >> Powertrain Management >> Ignition System >> Spark Plug >> Testing and Inspection

Spark Plug: Testing and Inspection




Spark Plug Inspection

1. Remove the ignition coils and the spark plugs Service and Repair.

2. Inspect the electrodes and the ceramic insulator.

- Burned or worn electrodes may be caused by these conditions:
- Advanced ignition timing
- Loose spark plug
- Plug heat range too hot
- Insufficient cooling

- Fouled plugs may be caused by these conditions:
- Retarded ignition timing
- Oil in combustion chamber
- Incorrect spark plug gap
- Plug heat range too cold
- Excessive idling/low speed running
- Clogged air cleaner element
- Deteriorated ignition coils





3. If the spark plug electrode is dirty or contaminated, clean the electrode with a plug cleaner.

NOTE:

- Do not use a wire brush or scrape the iridium electrode since this will damage the electrode.
- When using a sand blaster spark plug cleaner, do not clean for more than 20 seconds to avoid damaging the electrode.

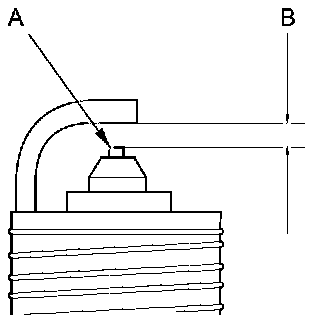
4. Replace the plug at the specified interval, if the center electrode (A) is rounded, or if the spark plug gap (B) is out of specification. Use only the spark plugs listed.

NOTE: Do not adjust the gap of iridium tip plugs.













5. Install the spark plugs and the ignition coils Service and Repair.