lemon-mirror:
Home >> Honda >> 2010 >> Accord V6-3.5L >> Parts and Labor >> Powertrain Management >> Emission Control Systems >> Images

Images

Converter:



Exhaust Pipe:



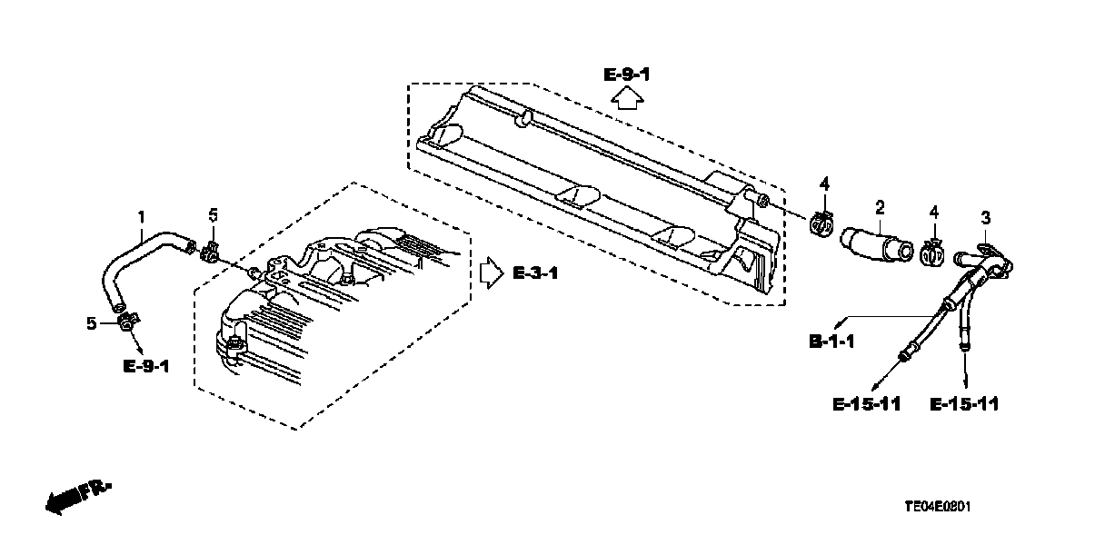
Canister Tubing, 2 Door:



Canister Tubing, 4 Door:



Install Pipe - Tubing, 2 Door:



Install Pipe - Tubing, 4 Door:



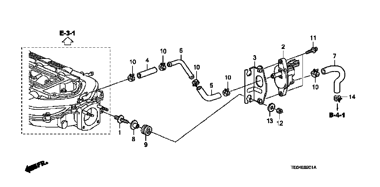
Breather Tube: