lemon-mirror:
Home >> Honda >> 2009 >> S2000 L4-2.2L >> Repair and Diagnosis >> Specifications >> Mechanical Specifications >> Body Specifications

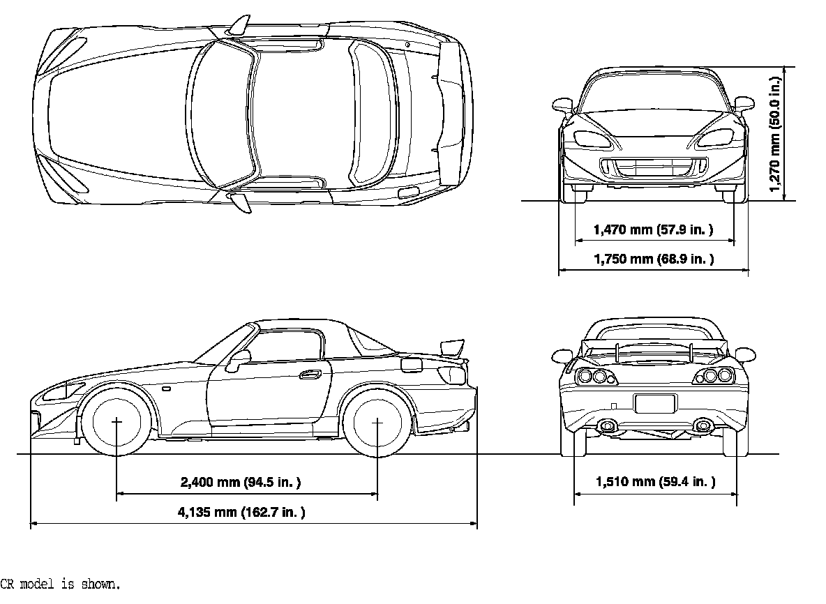
Body Specifications




Body Specifications

'08-09 Models