lemon-mirror:
Home >> Honda >> 2009 >> Element 2WD L4-2.4L >> Repair and Diagnosis >> Powertrain Management >> Computers and Control Systems >> Transmission Position Sensor/Switch >> Service and Repair

Transmission Position Sensor/Switch: Service and Repair




Transmission Range Switch Replacement

1. Raise the vehicle on a lift, or apply the parking brake, block the rear wheels, and raise the front of the vehicle. Make sure it is securely supported.

2. Shift to N.

3. Remove the transmission range switch cover (A).






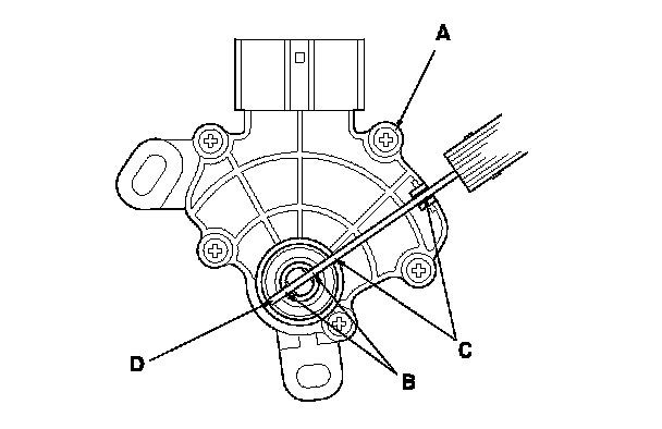
4. Disconnect the transmission range switch connector (A).

5. Remove the transmission range switch (B).






6. Make sure the selector control shaft is in N. If necessary, move the shift lever from P to N.
NOTE: Do not use the selector control shaft to adjust the shift position. If the selector control shaft tips are squeezed together it will cause a faulty signal or position due to play between the selector control shaft and the transmission range switch.






7. Set a new transmission range switch (A) to N. Align the cutouts (B) on the rotary-frame with the neutral positioning cutouts (C) on the transmission range switch. Then put a 2.0 mm (0.08 in.) feeler gauge blade (D) in the cutouts to hold the transmission range switch in N.
NOTE: Be sure to use a 2.0 mm (0.08 in.) feeler gauge blade or equivalent to hold the transmission range switch in N.






8. Install the transmission range switch (A) gently on the selector control shaft (B) while holding it in N with the 2.0 mm (0.08 in.) blade (C).






9. Tighten the bolts (A) on the transmission range switch while you continue to hold N. Do not move the transmission range switch when tightening the bolts. Remove the feeler gauge.

10. Connect the transmission range switch connector (B).

11. Turn the ignition switch to ON (II). Move the shift lever through all positions, and check the transmission range switch synchronization with the A/T gear position indicator.

12. Check that the engine will start with the shift lever in P and N, and will not start in any other shift lever position.

13. Check that the back-up lights come on when the shift lever is in R.

14. Allow the all four wheels (4WD) or the front wheels (2WD) to rotate freely, then start the engine, and check the shift lever operation.






15. Install the transmission range switch cover (A).