lemon-mirror:
Home >> Honda >> 2009 >> Element 2WD L4-2.4L >> Repair and Diagnosis >> Powertrain Management >> Computers and Control Systems >> Oxygen Sensor >> Service and Repair >> A/F Sensor Replacement

A/F Sensor Replacement




A/F Sensor Replacement

Special Tools Required

- O2 sensor socket wrench, Snap-on YA8875 or SWR2, or equivalent, commercially available
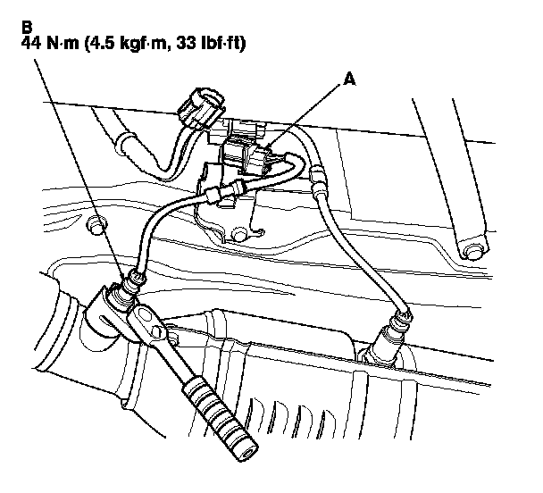
1. Disconnect the A/F sensor 4P connector (A), then remove the A/F sensor (B).

2. Install the parts in the reverse order of removal.