lemon-mirror:
Home >> Honda >> 2009 >> Element 2WD L4-2.4L >> Repair and Diagnosis >> Powertrain Management >> Computers and Control Systems >> Fuel Tank Pressure Sensor >> Service and Repair

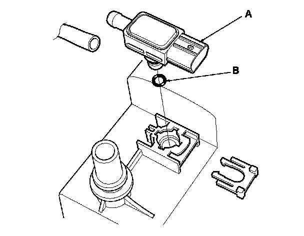
Fuel Tank Pressure Sensor: Service and Repair




FTP Sensor Replacement

1. Remove the EVAP canister. Service and Repair

2. Remove the FTP sensor (A).

3. Install the parts in the reverse order of removal with a new O-ring (B).