lemon-mirror:
Home >> Honda >> 2008 >> Pilot 2WD V6-3.5L >> Repair and Diagnosis >> Heating and Air Conditioning >> Control Assembly >> Service and Repair >> Climate Control Unit Bulb Replacement

Climate Control Unit Bulb Replacement

Climate Control Unit Bulb Replacement

1. Discharge the static electricity (which accumulated on you when you removed the climate control unit) by touching the door striker or other body parts.
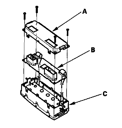
2. Remove the self-tapping screws, then carefully separate the climate control unit cover (A) and the control unit (B) from the control unit display (C). Do not kink or pull on the wires between the display and the control unit. Do not touch the electronic components on the printed circuit board in the control unit.






3. Remove the bulb(s) with a flat-tip screwdriver.






4. Install the bulb(s) in the reverse order of removal.