lemon-mirror:
Home >> Honda >> 2008 >> Pilot 2WD V6-3.5L >> Repair and Diagnosis >> Body and Frame >> Locks >> Keyless Entry >> Testing and Inspection >> Transmitter Test

Transmitter Test

Transmitter Test

NOTE:
- If the doors unlock or lock with the transmitter, but the LED on the transmitter does not come on, the LED is faulty; replace the transmitter.
- If any door or the tailgate is open, you cannot lock the door and tailgate with the transmitter.
- If you unlocked the doors with the transmitter, but do not open any of the doors within 30 seconds, the doors relock automatically.
- The doors do not lock or unlock with the transmitter if the ignition key is inserted in the ignition switch.

1. Press the lock or unlock button five or six times to reset the transmitter.
- If the locks work, the transmitter is OK.
- If the locks don't work, go to step 2.

2. Open the transmitter and check for water damage.
- If you find any water damage, replace the transmitter.
- If there is no water damage, go to step 3.






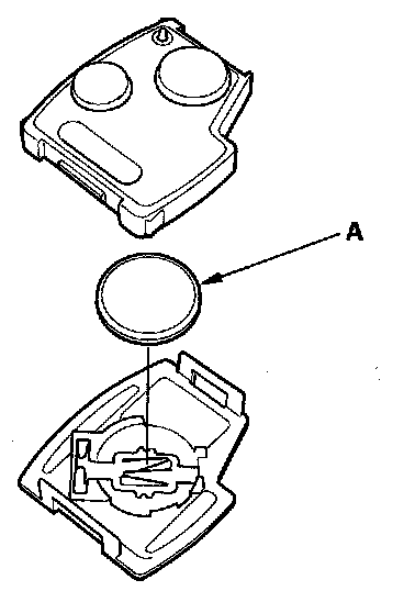
3. Replace the transmitter battery (A) with a new one, and try to lock and unlock the doors with the transmitter by pressing the lock or unlock button five or six times.
- If the doors lock and unlock, the transmitter is OK.
- If the doors don't lock and unlock, go to step 4.






4. Reprogram and register the transmitter, then try to lock and unlock the doors.
- If the doors lock and unlock, the transmitter is OK.
- If the doors don't lock and unlock, try and program to another vehicle. If still not operating replace the transmitter.