lemon-mirror:
Home >> Honda >> 2008 >> Element 2WD L4-2.4L >> Repair and Diagnosis >> Specifications >> Mechanical Specifications >> Engine >> Timing Components >> System Specifications

System Specifications

Timing Chain Tensioner






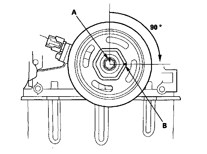
Crankshaft Pulley

Torque 50 Nm (5.0 kgf-m, 37 lbf-ft)





Tighten additional 90°


Timing Cover