lemon-mirror:
Home >> Honda >> 2008 >> Accord V6-3.5L >> Repair and Diagnosis >> Powertrain Management >> Computers and Control Systems >> Transmission Position Sensor/Switch >> Service and Repair

Transmission Position Sensor/Switch: Service and Repair

Transmission Range Switch Replacement

1. Do the battery removal procedure.
2. Remove the air cleaner assembly.
3. Remove the 6 x 1.0 mm bolt securing the resonator bracket under the battery base bracket from under the bracket, and remove the battery base and battery base bracket in the engine compartment.
4. Remove the nuts securing the shift cable bracket (A).





5. Remove the spring clip (B) and control pin (C), then separate the shift cable end (D) from the control lever (E).
6. Check the bushing (F) in the shift cable end for proper fit and wear. If the bushing is loose or worn, replace the shift cable.
7. Disconnect the transmission range switch connector.
8. Pry the lock tab of the lock washer (A) on the control lever (B), and remove the nut (C), lock washer, spring washer (D) and control lever.





9. Pry the lock tabs of the lock washer (E) on the transmission range switch (F), hold the selector control shaft (G) with a 6.0 mm wrench, and loosen the locknut (H).
10. Remove the locknut and lock washer, then remove the transmission range switch (two bolts).
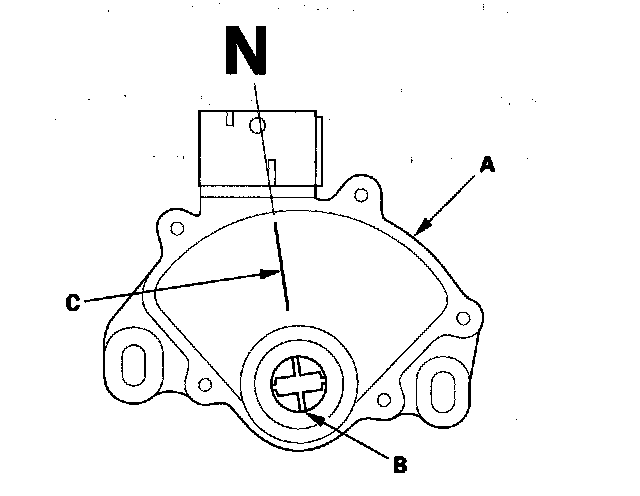
11. Set the new transmission range switch (A) to the N position. The transmission range switch clicks in the N position, and the control shaft hole (B) aligns with the N position line (C).





12. With a 6.0 mm wrench, turn the control shaft fully counterclockwise (viewed from the shaft end) to the P position. Turn the control shaft back two click stopped positions so that it is in the N position.





13. Install the transmission range switch (A) gently over the control shaft (B), and install the bolts loosely.





14. Install the new lock washer (A) over the control shaft (B) while aligning the projection (C) of the lock washer with the N positioning line (D) on the transmission range switch (E), and install the locknut (F).





15. Push the locknut against the transmission housing to seat the transmission range switch into the control shaft, and tighten the locknut (A) to 12 N-m (1.2 kgf-m, 8.7 lbf-ft) while holding the control shaft (B) with a 6.0 mm wrench (C), then bend the lock tabs (D) of the lock washer against the locknut.





16. Tighten the bolts (E) securing the transmission range switch to 12 N-m (1.2 kgf-m, 8.7 lbf-ft).
17. Install the control lever (A), spring washer (B), lock washer (C), and locknut (D) on the control shaft (E).





18. Check the connectors for rust, dirt, or oil. Clean if needed, then connect the connector securely.
19. Apply molybdenum grease to the hole in the bushing in the shift cable end. Attach the shift cable end to the control lever, then insert the control pin into the control lever hole through the shift cable end, and secure the control pin with the spring clip.
20. Secure the shift cable bracket with the nuts.
21. Install the battery base bracket and battery base, and secure the resonator bracket under the battery base bracket with the bolt from under the bracket.
22. Install the air cleaner assembly.
23. Do the battery installation procedure.
24. Turn the ignition switch to ON (II). Move the shift lever through all positions, and check the transmission range switch synchronization with the A/T gear position indicator.
25. Check that the engine starts in P and N, and does not start in any other shift lever position.
26. Check that the back-up lights come on when the shift lever is in R.
27. Allow the front wheels to rotate freely, then start the engine, and check the shift lever operation.