lemon-mirror:
Home >> Honda >> 2008 >> Accord L4-2.4L >> Repair and Diagnosis >> Specifications >> Mechanical Specifications >> Engine >> System Specifications >> General Specifications

General Specifications

Cylinder Head
(Specs are the same for PZEV & Non-PZEV)

Tighten the cylinder head bolts in sequence 39 N-m (4.0 kgf-m, 29 lbf-ft)





After torquing, tighten all cylinder head bolts in two steps (90° per step)





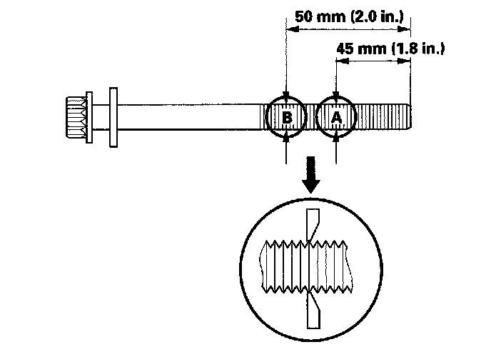
Measure the diameter of each cylinder head bolt at point A and point B.





If either diameter is less than 10.6 mm (0.42 in.), replace the cylinder head bolt.

Intake Manifold

Tighten the bolts and nuts in a crisscross pattern in three steps, beginning with the inner bolt.





Camshaft Bearing Cap

Tighten the bolts, in sequence, to the specified torque.





Main Bearing

Torque the bolts to 29 N-m (3.0 kgf-m, 22 lbf-ft).





Tighten the bearing cap bolts an additional 56°.

Rod Bearing Cap

Torque 41 N-m (4.2 kgf-m, 30 lbf-ft) +120°.
Tighten additional 120°

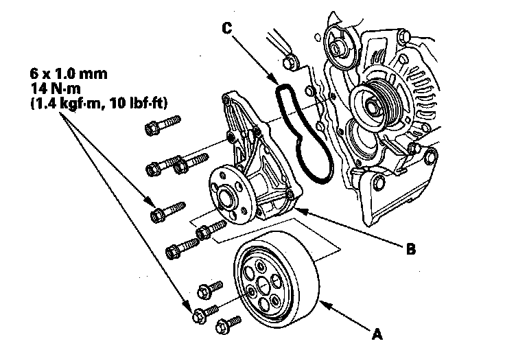
Crankshaft Pulley

Torque 49 N-m (5.0 kgf-m, 36 lbf-ft)

If the pulley bolt or crankshaft are new, tighten the bolt to 177 N-m (18.0 kgf-m, 130 lbf-ft), then remove the bolt and tighten it to 49 N-m (5.0 kgf-m, 36 lbf-ft).

Tighten additional 90°.

Oil Pump





Water Pump