lemon-mirror:
Home >> Honda >> 2008 >> Accord L4-2.4L >> Repair and Diagnosis >> Powertrain Management >> Computers and Control Systems >> Main Relay (Computer/Fuel System) >> Testing and Inspection

Main Relay (Computer/Fuel System): Testing and Inspection

Power Relay Test

Special Tools Required
Relay Puller 07AAC-000A1AO

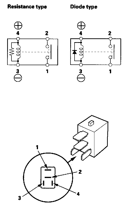
Use this chart to identify the type of relay, then do the test listed for it.






Normally-open type

Check for continuity between the terminals:
- There should be continuity between the No. 1 and No. 2 terminals when battery power is connected to the No. 4 terminal, and body ground is connected to the No. 3 terminal.
- There should be no continuity between the No. 1 and No. 2 terminals when power is disconnected.