lemon-mirror:
Home >> Honda >> 2008 >> Accord L4-2.4L >> Repair and Diagnosis >> Powertrain Management >> Computers and Control Systems >> Engine Control Module >> Testing and Inspection >> Programming and Relearning >> Substituting the ECM/PCM

Substituting the ECM/PCM

Substituting the ECM/PCM

Special Tools Required
- Honda diagnostic system (HDS) tablet tester
- Honda interface module (HIM) and an iN workstation with HDS and CM update software
- HDS pocket tester
- GNA600 and an iN workstation with HDS and CM update software

Use any one of these update tools.

NOTE: Use this procedure when you have to substitute a known-good ECM/PCM during troubleshooting procedure.

1. Connect the HDS to the data link connector (DLC) (A) located under the driver's side of the dashboard.






2. Turn the ignition switch to ON (II).
3. Make sure the HDS communicates with the ECM/PCM and other vehicle systems. If it doesn't, go to the DLC circuit troubleshooting. Testing and Inspection If you are returning from DLC circuit troubleshooting, skip steps 5 and 6, and the clean the throttle body after substituting the ECM/PCM.
4. Select the INSPECTION MENU with the HDS.
5. Select the ETCS TEST, then select the TP POSITION CHECK, and follow the screen prompts.

NOTE: If the TP POSITION CHECK indicates FAILED, continue this procedure.

6. Turn the ignition switch to LOCK (0).
7. Do the battery removal procedure.
8. Remove the bolts (D).






9. Disconnect ECM/PCM connectors A, B, and C, then remove the ECM/PCM assembly (E).

NOTE: ECM/PCM connectors A, B, and C have symbols (A=Square, B=Triangle, C=Circle) embossed on them for identification.

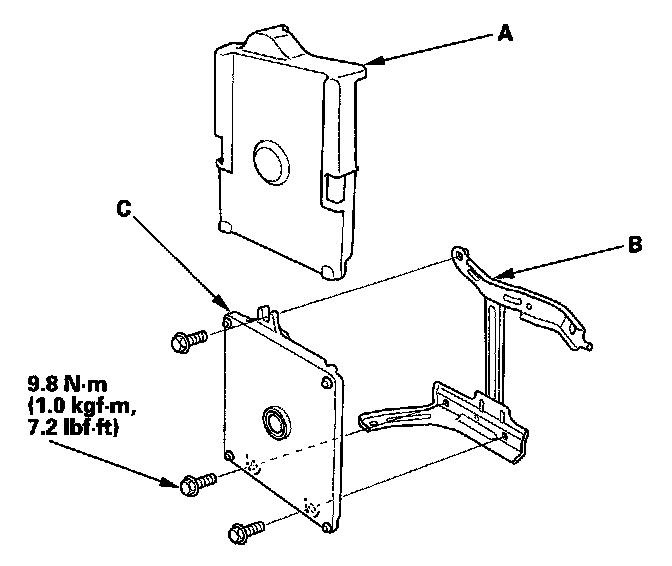
10. Remove the cover (A) and the bracket (B) from the ECM/PCM (C).






11. Install a known-good ECM/PCM in the reverse order of removal.
12. Do the battery installation procedure.

NOTE: While doing the battery installation procedure, do not start the engine.

13. Turn the ignition switch to ON (II).

NOTE: DTC P0630 (VIN Not Programmed or Mismatch) may be stored because the VIN has not been programmed into the ECM/PCM; ignore it, and continue this procedure.

14. Manually input the VIN to the ECM/PCM with the HDS.
15. Select the IMMOBI SYSTEM with the HDS.
16. Enter the immobilizer code using the ECM/PCM replacement procedure in the HDS; this allows you to start the engine.
17. Update the ECM/PCM if it does not have the latest software.
18. Reset the ECM/PCM with the HDS.
19. If the TP POSITION CHECK failed in step 5, clean the throttle body.
20. Do the ECM/PCM idle learn procedure.
21. Do the CKP pattern learn procedure.