lemon-mirror:
Home >> Honda >> 2008 >> Accord L4-2.4L >> Repair and Diagnosis >> Body and Frame >> Frame >> Specifications

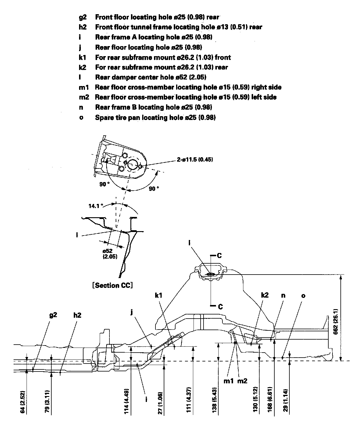
Frame: Specifications

Frame Repair Chart Part 1:



Frame Repair Chart Part 2:



Frame Repair Chart Part 3:



Frame Repair Chart Part 4: