lemon-mirror:
Home >> Honda >> 2007 >> Ridgeline V6-3.5L >> Repair and Diagnosis >> Powertrain Management >> Computers and Control Systems >> Main Relay (Computer/Fuel System) >> Testing and Inspection

Main Relay (Computer/Fuel System): Testing and Inspection





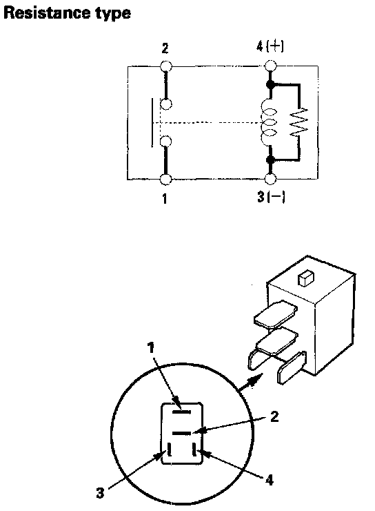
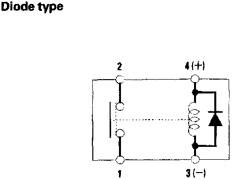
Power Relay Test

Use this chart to identify the type of relay, then do the test listed for it.

NOTE: For the turn signal/hazard relay input test, refer to Lighting and Horns.








Normally-open type

Check for continuity between the terminals.
- There should be continuity between the No. 1 and No. 2 terminals when power is connected to the No. 4 terminal and ground the No. 3 terminal.
- There should be no continuity between the No. 1 and No. 2 terminals when power is disconnected.