lemon-mirror:
Home >> Honda >> 2007 >> Pilot 2WD V6-3.5L >> Repair and Diagnosis >> Powertrain Management >> Computers and Control Systems >> Main Relay (Computer/Fuel System) >> Testing and Inspection

Main Relay (Computer/Fuel System): Testing and Inspection

Power Relay Test




Use this chart to identify the type of reJay, then do the test listed for it.

NOTE: For the turn signal/hazard relay input test, refer to Lighting and Horns.

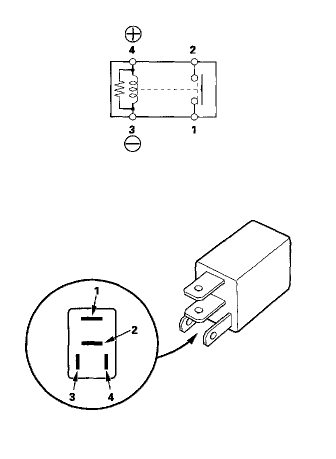
Normally- open type A




Check for continuity between the terminals.
- There should be continuity between the No. 1 and No. 2 terminals when battery positive terminal is connected to the No. 4 terminal, and battery negative terminal is connected to the No. 3 terminal.
- There should be no continuity between the No. 1 and No. 2 terminals when power is disconnected.