lemon-mirror:
Home >> Honda >> 2007 >> Pilot 2WD V6-3.5L >> Repair and Diagnosis >> Powertrain Management >> Computers and Control Systems >> Fuel Tank Pressure Sensor >> Service and Repair

Fuel Tank Pressure Sensor: Service and Repair

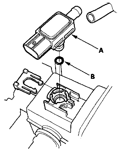
FTP Sensor Replacement

1. Remove the EVAP canister.




2. Remove the FTP sensor (A).
3. Install the parts in the reverse order of removal with a new O-ring (B).