lemon-mirror:
Home >> Honda >> 2007 >> Odyssey V6-3.5L >> Repair and Diagnosis >> Specifications >> Mechanical Specifications >> Engine >> System Specifications >> Torque Specifications

Torque Specifications

Cylinder head




Measure the diameter of each cylinder head bolt at point A and point B. If either diameter is less than 11.3 mm (0.44 in.), replace the cylinder head bolt




Torque the cylinder head bolts in sequence to 29 N.m (3.0 kgf.m, 22 lbf.ft).




After torquing, tighten all cylinder head bolts in two steps (90° per step). If you are using a new cylinder head bolt, tighten the bolt an extra 90°.


Intake Manifold




Intake manifold




Manifold upper cover


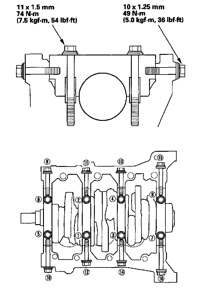
Main Bearing Cap




Tighten the bearing cap bolts, and then the bearing cap side bolts to the specified torque in the sequence as shown. Repeat the torque sequence again to asure the bolts are properly torqued.


Connecting Rod Cap




Tightening Torque, 20 N.m (2.0 kgf.m, 14 lbf.ft) + 90°


Crankshaft Pulley




Torque, 64 N.m (6.5 kgf.m, 47 lbf.ft)
Tighten the bolt an additional 60°


Oil Pump






Water Pump