lemon-mirror:
Home >> Honda >> 2007 >> Fit L4-1.5L >> Repair and Diagnosis >> Powertrain Management >> Computers and Control Systems >> Vehicle Speed Sensor >> Service and Repair

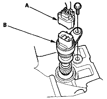
Vehicle Speed Sensor: Service and Repair

VSS Replacement

M/T

1. Remove the air cleaner.




2. Disconnect the VSS 3P connector (A).
3. Remove the VSS (B).
4. Install the parts in the reverse order removal with new O-rings.