lemon-mirror:
Home >> Honda >> 2007 >> Civic L4-1.8L >> Repair and Diagnosis >> Powertrain Management >> Computers and Control Systems >> Main Relay (Computer/Fuel System) >> Testing and Inspection

Main Relay (Computer/Fuel System): Testing and Inspection

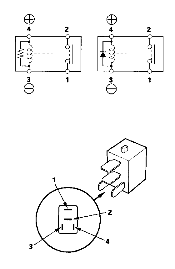
Power Relay Test




Use this chart to identify the type of relay, then do the test listed for it.




Normally-open type
Check for continuity between the terminals.
- There should be continuity between the No.1 and No.2 terminals when battery positive terminal is connected to the No.4 terminal, and battery negative terminal is connected to the No.3 terminal.
- There should be continuity between the No.1 and No.2 terminals when power is disconnected.