lemon-mirror:
Home >> Honda >> 2006 >> Pilot 2WD V6-3.5L >> Repair and Diagnosis >> Heating and Air Conditioning >> Control Assembly >> Service and Repair >> Heating/Air Conditioning

Heating/Air Conditioning

Heater Control Panel Removal and Installation

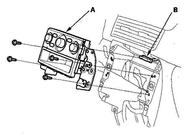
1. Remove the center panel.




2. Remove the screws, and remove the heater control panel (A) with the brackets from the dashboard, then disconnect the connector (B).




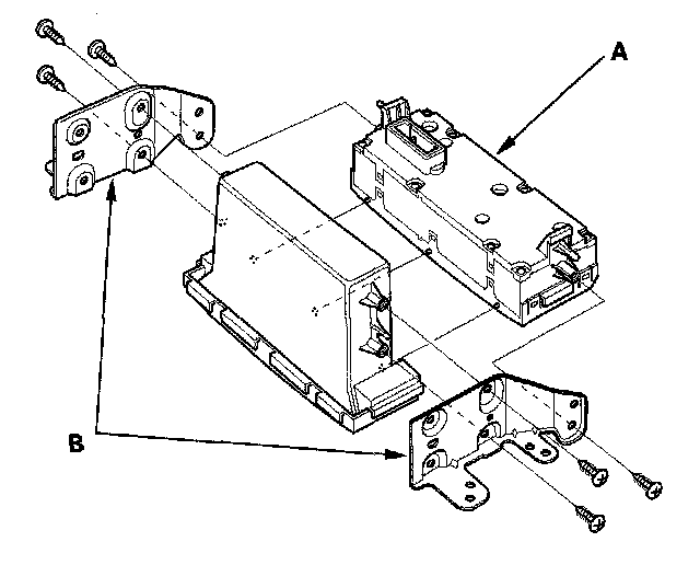
3. Remove the screws and the heater control panel (A) from the brackets (B).
4. Install the control panel in the reverse order of removal. After installation, operate the control panel controls to see whether it works properly.
5. Run the self-diagnostic function to confirm that there are no problems in the system.