lemon-mirror:
Home >> Honda >> 2006 >> Odyssey V6-3.5L >> Repair and Diagnosis >> Body and Frame >> Mirrors >> Memory Positioning Systems >> Memory Positioning Switch >> Service and Repair

Memory Positioning Switch: Service and Repair

Driving Position Memory Switch Test/Replacement

1. Remove the driver's door panel.




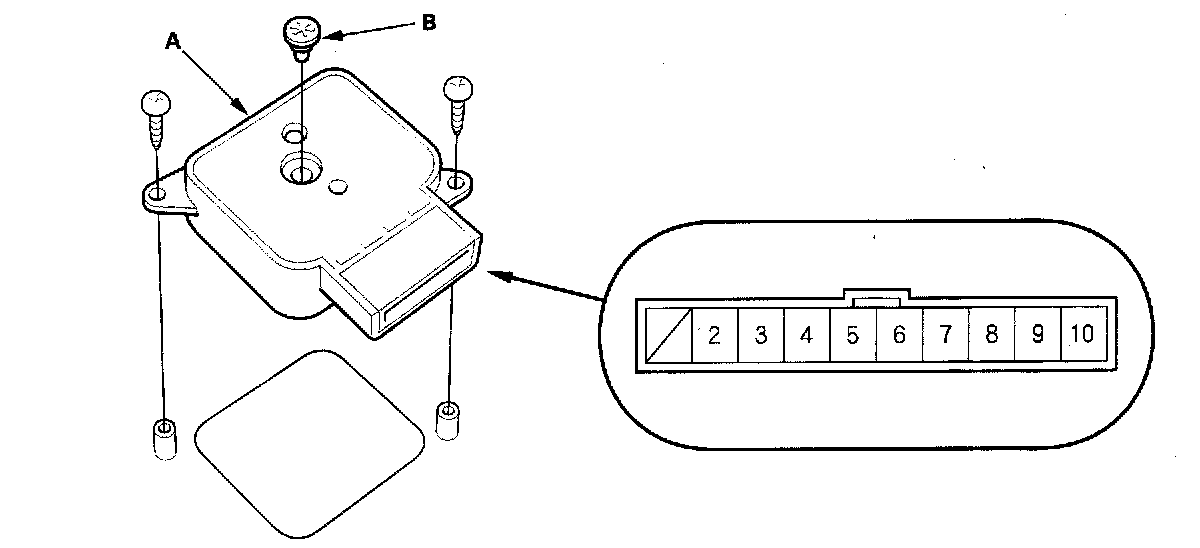
2. Disconnect the 10P connector from the memory switch (A).
3. Remove the two screws, then remove the switch from the door panel.




4. Check for continuity between the terminals in each switch position according to the table.
5. If the continuity is not as specified, replace the illumination bulb (B) or the switch.