lemon-mirror:
Home >> Honda >> 2006 >> Element 2WD L4-2.4L >> Repair and Diagnosis >> Specifications >> Mechanical Specifications >> Engine >> System Specifications >> Tightening Torque

Tightening Torque

Cylinder Head Torque and Sequence
For complete and accurate Cylinder Head Torque data, please refer to Cylinder Head Installation. Service and Repair


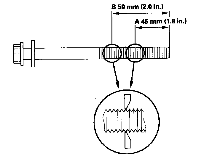
Head Bolt Reuse/ Replace




If bolt diameter is less than 10.6 mm (0.42 inch), replace the cylinder head bolt.


Intake Manifold Torque and Sequence




Tighten the bolts/nuts in a crisscross pattern in two or three steps, beginning with the inner bolt.


Camshaft Retainers/Rocker Shaft Torque and Sequence




Tighten the bolts in sequence to the specified torque.


Crankshaft Main Bearing Torque and Sequence
For complete and accurate Crankshaft Torque data, please refer to Crankshaft Installation. Service and Repair


Rod Bearing Cap Torque
For complete and accurate Crankshaft Torque data, please refer to Crankshaft Installation. Service and Repair


Rod Bearing Bolt Reuse/ Replace
For complete and accurate reusability data, please refer to Connecting Rod Bolt Inspection. Testing and Inspection


Crankshaft Pulley
For complete and accurate Crankshaft Pulley Torque data, please refer to Crankshaft Pulley Removal and Installation. Service and Repair


Flex Plate Torque and Sequence




Tighten the eight drive plate bolts in a crisscross pattern in two or more steps.


Flywheel Torque and Sequence




Torque the flywheel mounting bolts (B) in a crisscross pattern in several steps.


Oil Pump Torque and Sequence
For complete and accurate Oil Pump Torque data, please refer to Oil Pump Overhaul. Service and Repair


Exhaust Manifold Torque and Sequence




Tighten the Exhaust Manifold bolts/nuts in a crisscross pattern in two or three steps, beginning with the inner bolt.


Water Pump Torque