lemon-mirror:
Home >> Honda >> 2005 >> Pilot V6-3.5L >> Repair and Diagnosis >> Windows and Glass >> Windows >> Power Window Switch >> Service and Repair >> Master Switch Replacement

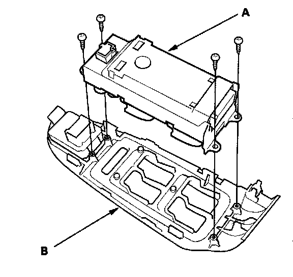
Master Switch Replacement

Master Switch Replacement

1. Carefully pry off the driver's door switch trim.




2. Disconnect the power mirror and power window switch connectors (A).




3. Remove the four mounting screws, then remove the master switch (A) from the panel (B).