lemon-mirror:
Home >> Honda >> 2005 >> Odyssey V6-3.5L >> Repair and Diagnosis >> Powertrain Management >> Computers and Control Systems >> Main Relay (Computer/Fuel System) >> Testing and Inspection

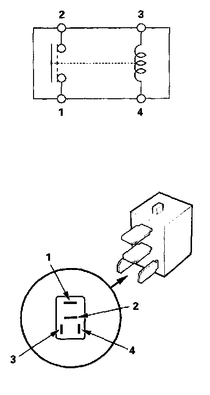
Main Relay (Computer/Fuel System): Testing and Inspection

Power Relay Test




Use this chart to identify the type of relay, then do the test listed for it.

NOTE:
- For the turn signal/hazard relay input test.
- PGM-FI main relay 2 contains a diode between No. 3 and No. 4 terminals. Power (+B) must be connected to the No. 4 terminal, and ground connected to the No. 3 terminal. Failure to test relay correctly will damage the relay and the PCM.

Normally-open type




Check for continuity between the terminals.
- There should be continuity between the No. 1 and No. 2 terminals when power and ground are connected to the No. 3 and No. 4 terminals.
- There should be no continuity between the No. 1 and No. 2 terminals when power is disconnected.