lemon-mirror:
Home >> Honda >> 2005 >> Insight L3-1.0L Hybrid >> Repair and Diagnosis >> Maintenance >> Alignment >> Service and Repair

Alignment: Service and Repair

Wheel Alignment
The suspension can be adjusted for front camber and front toe. However, each of these adjustments are related to each other. For example, when you adjust camber, the toe changes. Therefore, you must adjust the front wheel alignment whenever you adjust camber or toe.

Pre-Alignment Checks
For proper inspection and adjustment of the wheel alignment, do these checks:

1. Release the parking brake to avoid an incorrect measurement.
2. Make sure the suspension is not modified.
3. Check the tire size and tire pressure.
Tire size:
Front/Rear: P165/65R14 78S
Tire pressure:
Front: 260 kPa (2.6 kgf/cm2, 38 psi)
Rear: 240 kPa (2.4 kgf/cm2, 35 psi)
4. Check the runout of the wheels and tires.





5. Check the suspension ball joints. (Hold a wheel with your hands, and move it up and down and right and left to check for wobbling.)
6. Bounce the vehicle several times to stabilize the suspension.

Caster Inspection
Use commercially available computerized four wheel alignment equipment to measure wheel alignment (caster, camber, toe, and turning angle). Follow the equipment manufacturer's instructions.
Check the caster angle. If the caster angle is not within the specification, check for bent or damaged suspension components.
Caster angle: 2°00' ± 1°

Front Camber Inspection
Use commercially available computerized four wheel alignment equipment to measure wheel alignment (caster, camber, toe, and turning angle). Follow the equipment manufacturer's instructions.
Check the camber angle. If the camber angle is not within the specification, adjust the camber.
Front camber angle: 0°00' ± 1°

Front Camber Adjustment





The front camber can be adjusted by exchanging one or both of the damper pinch bolts with the smaller diameter adjusting bolt(s). The difference between the adjusting bolt diameter and the pinch bolt hole diameter allows a small range of adjustment.

1. Raise the front of the vehicle, and support it with safety stands in the proper locations.
2. Remove the front wheels.





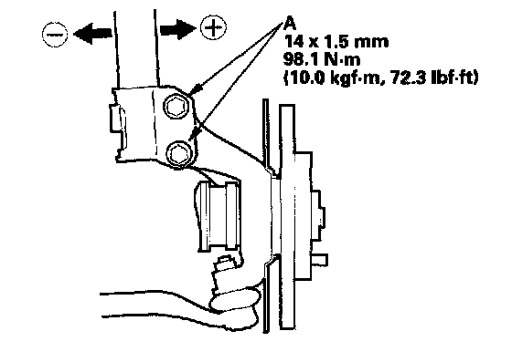
3. Loosen the damper pinch nuts and bolts (A), and adjust the camber by moving the bottom of the damper within the range of the damper pinch bolt free play.
4. Tighten the bolts to the specified torque.
5. Reinstall the front wheels. Lower the front of the vehicle to the ground, and bounce the vehicle several times to stabilize the suspension.
6. Check the camber angle. If it is within the specification, check the front toe. If it is not within the specification, go to step 7.
7. Raise the front of the vehicle, and support it with safety stands in the proper locations.
8. Remove the front wheels.





9. Replace the damper pinch bolts with the adjusting bolts (A), and adjust the camber angle.

NOTE: The camber angle can be adjusted up to ±30° (center of tolerance) by replacing one damper pinch bolt with the adjusting bolt. The camber angle can be adjusted up to 1°00' by replacing both damper pinch bolts with the adjusting bolts.

10. Tighten the bolts to the specified torque.
11. Reinstall the front wheels, and torque the wheel nuts to 108 Nm (11.0 kg-m, 79.6 ft. lbs.).
12. Lower the vehicle to the ground, and bounce the front of the vehicle several times to stabilize the suspension.
13. Check the camber angle. If it is within the specification, check the front toe, and adjust it if necessary. If the camber angle is not within the specification, readjust it, and recheck. If the camber angle cannot be adjusted to the specification, check for bent or damaged suspension components.

Rear Camber Inspection
Use commercially available computerized four wheel alignment equipment to measure wheel alignment (caster, camber, toe, and turning angle). Follow the equipment manufacturer's instructions.
Check the camber angle. If the camber angle is not within the specification, check for bent or damaged suspension components.
Rear camber angle: -1°00' ± 1°

Front Toe Inspection/Adjustment
Use commercially available computerized four wheel alignment equipment to measure wheel alignment (caster, camber, toe, and turning angle). Follow the equipment manufacturer's instructions.

1. Center the steering wheel spokes.
2. Check the toe. If it is not within the specification, go to step 3.
Front toe-in: 0 ± 2 mm (0 ± 1/16 inch)





3. Loosen the inner locknut (A) while holding the tie-rod arm (B), and loosen the outer locknut (C) while holding the tie-rod end (D).
4. Turn the tie-rod adjuster bolt (E) until the toe is correct.





5. After adjusting, tighten the locknuts while holding the tie-rod arm or tie-rod end. Make sure the arrow (A) on the tie-rod arm (B) and the aligning mark (C) on the tie-rod end (D) are in line, viewing from the wheelhouse side along the axial direction of the tie-rod, on both right and left side of the vehicle. Make sure the toe setting does not change.

Rear Toe Inspection
Use commercially available computerized four wheel alignment equipment to measure wheel alignment (caster, camber, toe, and turning angle). Follow the equipment manufacturer's instructions.

1. Release the parking brake.
2. Check the toe. If it is not within the specification, check for bent or damaged suspension components.
Rear toe-in: 3 ± 3 mm (1/8 ± 1/8 inch)

Turning Angle Inspection
Use commercially available computerized four wheel alignment equipment to measure wheel alignment (caster, camber, toe, and turning angle). Follow the equipment manufacturer's instructions.





1. Turn the steering wheel fully to the right and left while applying the brake, and check the turning angles of both front wheels. If the turning angle is not within the specification or the inward turning angles differ between the right and left side, go to step 2.
2. Check the toe. If it is correct, but the turning angle is not within the specification, check for bent or damaged suspension components.