lemon-mirror:
Home >> Honda >> 2005 >> CR-V 2WD L4-2.4L >> Repair and Diagnosis >> Powertrain Management >> Computers and Control Systems >> Engine Control Module >> Testing and Inspection >> Initial Inspection and Diagnostic Overview

Initial Inspection and Diagnostic Overview

How to Troubleshoot Circuits at the ECM/PCM

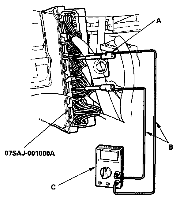
Special Tools Required
- Digital multimeter KS-AHM-32-003 (1) or a commercially available digital multi meter
- Backprobe set 07SAZ-001000A (2)




1. Connect the backprobe adapters (A) to the stacking patch cords (B), and connect the cords to a digital multimeter (C).
2. Using the wire insulation as a guide for the contoured tip of the backprobe adapter, gently slide the tip into the connector from the wire side until it touches the end of the wire terminal.




3. If you cannot get to the wire side of the connector or the wire side is sealed (A), disconnect the connector and probe the terminals (B) from the terminal side. Do not force the probe into the connector.

NOTE: Do not puncture the insulation on a wire. Punctures can cause poor or intermittent electrical connections.