lemon-mirror:
Home >> Honda >> 2005 >> Accord L4-2.4L >> Repair and Diagnosis >> Testing and Inspection

Repair and Diagnosis: Testing and Inspection




Power Relay Test

Use this chart to identify the type of relay, then do the test listed for it.




Normally-open type

Check for continuity between the terminals.

- There should be continuity between the No. 1 and No. 2 terminals when power and ground are connected to the No. Sand No. 4 terminals.
- There should be no continuity between the No. 1 and No. 2 terminals when power is disconnected.




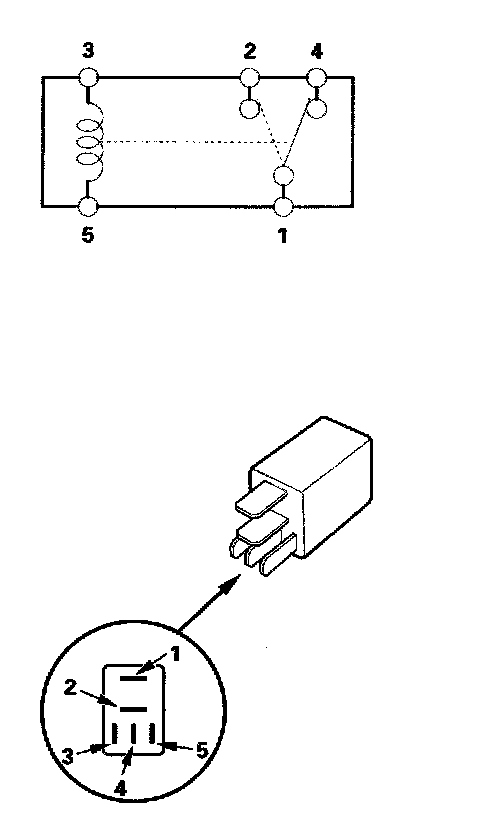
Five-terminal type B

Check for continuity between the terminals.

- There should be continuity between the No. 1 and No. 2 terminals when power and ground are connected to the No. 3 and No. 5 terminals.
- There should be continuity between the No. 1 and No. 4 terminals when power is disconnected.