lemon-mirror:
Home >> Honda >> 2004 >> S2000 L4-2.2L >> Repair and Diagnosis >> Testing and Inspection

Repair and Diagnosis: Testing and Inspection

Power Relay Test




Use this chart to identify the type of relay, then do the test listed for it.

NOTE: For the turn signal/hazard relay input test.

Normally-open type A




Check for continuity between the terminals.

- There should be continuity between the No.1 and No.2 terminals when power and ground are connected to the No.3 and No.4 terminals.
- There should be no continuity between the No.1 and No.2 terminals when power is disconnected.

Five-terminal type B




Check for continuity between the terminals.

- There should be continuity between the No.1 and No.2 terminals when power and ground are connected to the No.3 and No.5 terminals.
- There should be continuity between the No.1 and No.4 terminals when power is disconnected.




- Intermittent wiper relay ('00-01 models)
- Rear window defogger relay ('02-04 models)
- Rear window defogger change relay ('02-04 models)

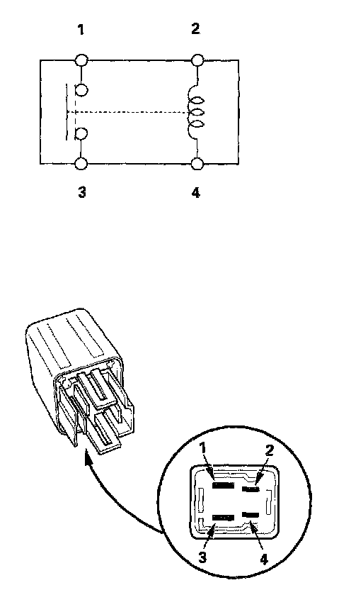
Normally-open type B




Check for continuity between the terminals.

- There should be continuity between the No.1 and No.3 terminals when power and ground are connected to the No.2 and No.4 terminals.
- There should be no continuity between the No.1 and No.3 terminals when power is disconnected.

Five-terminal type A




Check for continuity between the terminals.

- There should be continuity between the No.1 and No.2 terminals when power and ground are connected to the No.3 and No.5 terminals.
- There should be continuity between the No.2 and No.4 terminals when power is disconnected.