lemon-mirror:
Home >> Honda >> 2004 >> S2000 L4-2.2L >> Repair and Diagnosis >> Maintenance >> Fluids >> Fluid - Differential >> Service and Repair

Fluid - Differential: Service and Repair

Inspection and Replacement
1. With the vehicle on level ground, inspect the differential oil with engine OFF.





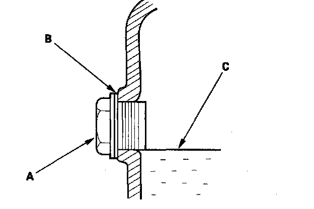
2. Remove the oil filler plug (A) and sealing washer (B), then check the condition of the oil, and make sure the oil is at the proper level (C).
3. The oil level must be up to the fill hole. If it is below the hole, add the recommended oil until it runs out, then reinstall the oil filler plug with a new sealing washer.





4. If the differential oil is dirty, remove the drain plug (D), and drain the oil.
5. Clean the drain plug, then reinstall with a new washer, and refill the differential with the recommended oil to the proper level.
Oil capacity
0.74 liters (0.78 US quarts 0.65 Imp quarts) at oil change
0.77 liters (0.81 US quarts 0.68 Imp quarts) at overhaul
Recommended oil
Hypoid gear oil
API Classification GL5 or GL6,
Viscosity: SAE # 90
6. Reinstall the oil filler plug with a new washer.