lemon-mirror:
Home >> Honda >> 2004 >> Civic Si L4-2.0L >> Repair and Diagnosis >> Body and Frame >> Frame >> Service and Repair >> Frame Repair Chart

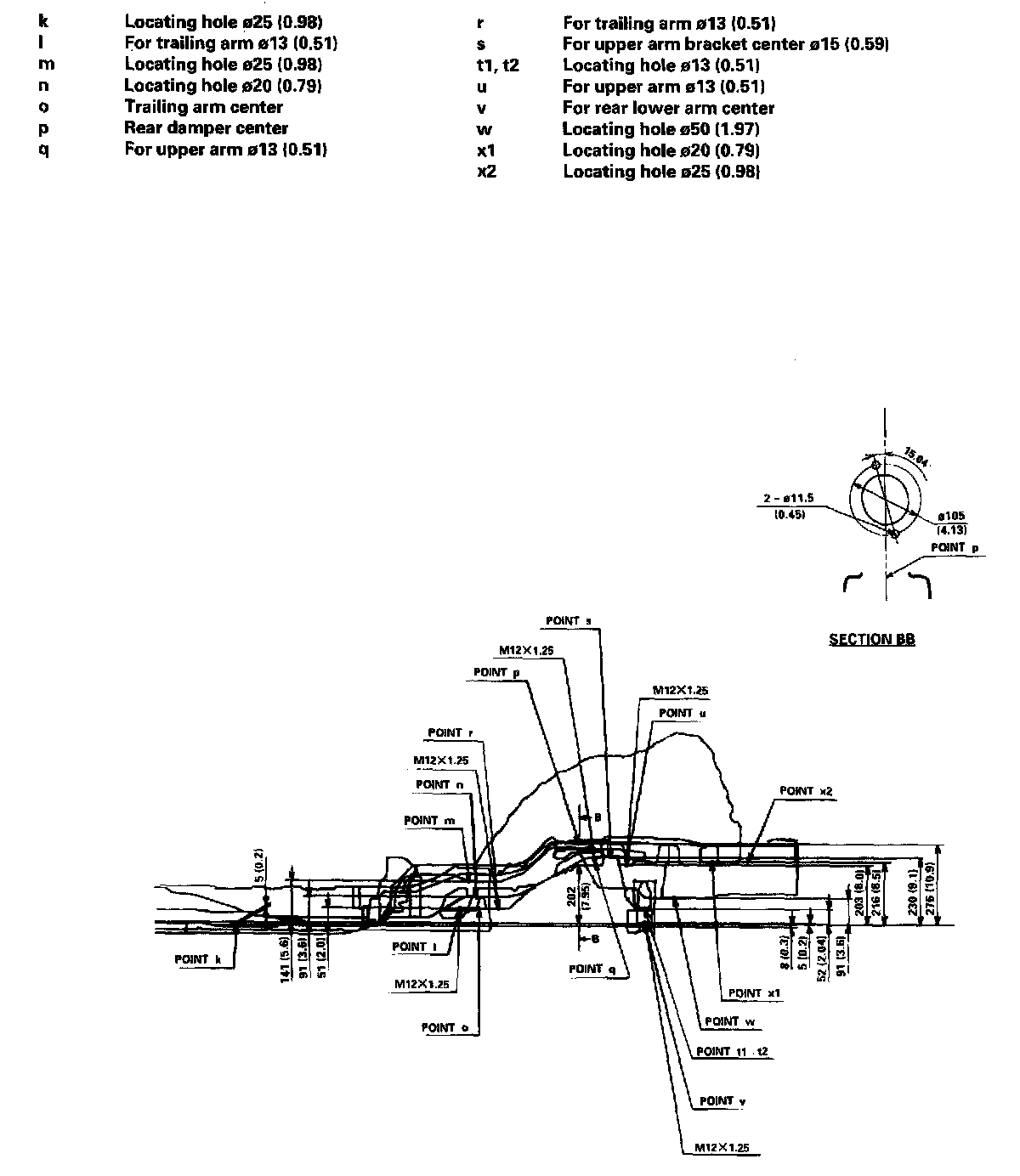
Frame Repair Chart

Frame - Frame Repair Chart Top View 1:



Frame - Frame Repair Chart Top View 2:



Frame - Frame Repair Chart Side View 1:



Frame - Frame Repair Chart Side View 2: