lemon-mirror:
Home >> Honda >> 2000 >> Odyssey EX V6-3.5L >> Repair and Diagnosis >> Specifications >> Mechanical Specifications >> Engine >> Cylinder Block Assembly >> System Specifications >> Torque Specifications

Torque Specifications












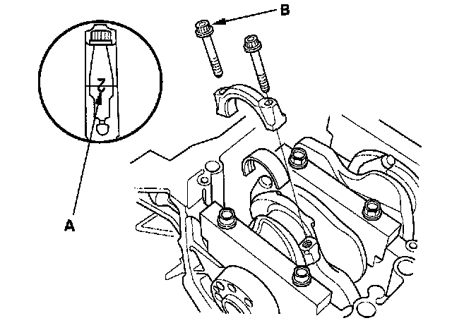
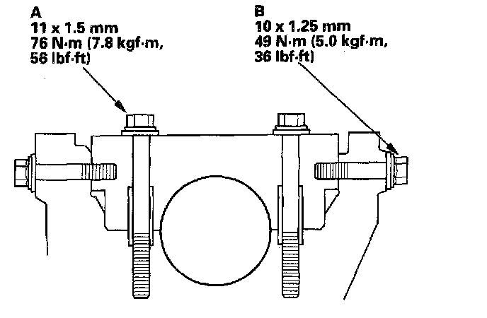
Main Bearing Cap Torque and Tightening Sequence





Connecting Rod Bolt 20 Nm (2.0 kgf.m, 14 ft. lbs.)

Crankshaft Pulley
Torque 245 Nm (25.0 kgf-m, 181 ft. lbs.)




A/T Flex Plate