lemon-mirror:
Home >> Geo >> 1994 >> Prizm L4-1.6L DOHC >> Repair and Diagnosis >> Powertrain Management >> Computers and Control Systems >> Throttle Position Sensor >> Testing and Inspection

Throttle Position Sensor: Testing and Inspection

Open/Shorted Throttle Position Sensor:




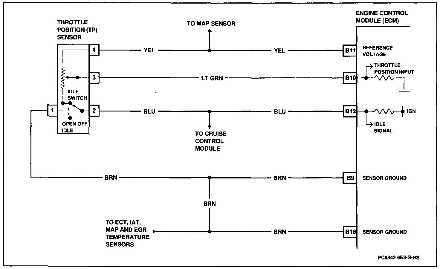
Throttle Position Sensor Circuit:






Component Failure Mode
DTC 41 will set if either of the following conditions are met for at least 0.5 seconds:

(1) Throttle position input at the ECM indicates wide open throttle when the engine is idling.

(2) Throttle position input at the ECM indicates an idle signal when the engine is off idle.

Test Description:
Number(s) below refer to circled number(s) on the diagnostic chart.

1. This checks for a fault in the YEL wire between the ECM and TP sensor.

2. This checks for an open in the BRN wire between the ECM and TP sensor.

3. This checks for a fault in the LT GRN wire between the ECM and TP sensor, a faulty ECM or for a misadjusted or faulty TP sensor.

Diagnostic Aids:
Refer to for TP sensor adjustment procedures before replacing TP sensor. If DTCs 22, 24 and 31 are also set, problem is open sensor ground circuit.

An intermittent may be caused by a poor connection, rubbed through wire insulation, or a wire broken inside the insulation. Inspect hamess connectors for backed out terminals, improper mating, broken locks, improperly formed or damaged terminals and poor terminal-to-wire connections before component replacement.