lemon-mirror:
Home >> Geo >> 1989 >> Spectrum L4-91.5 1.5L >> Repair and Diagnosis >> Body and Frame >> Locations >> Notchback

Notchback

Engine Compartment Wiring:




Dash Wiring:




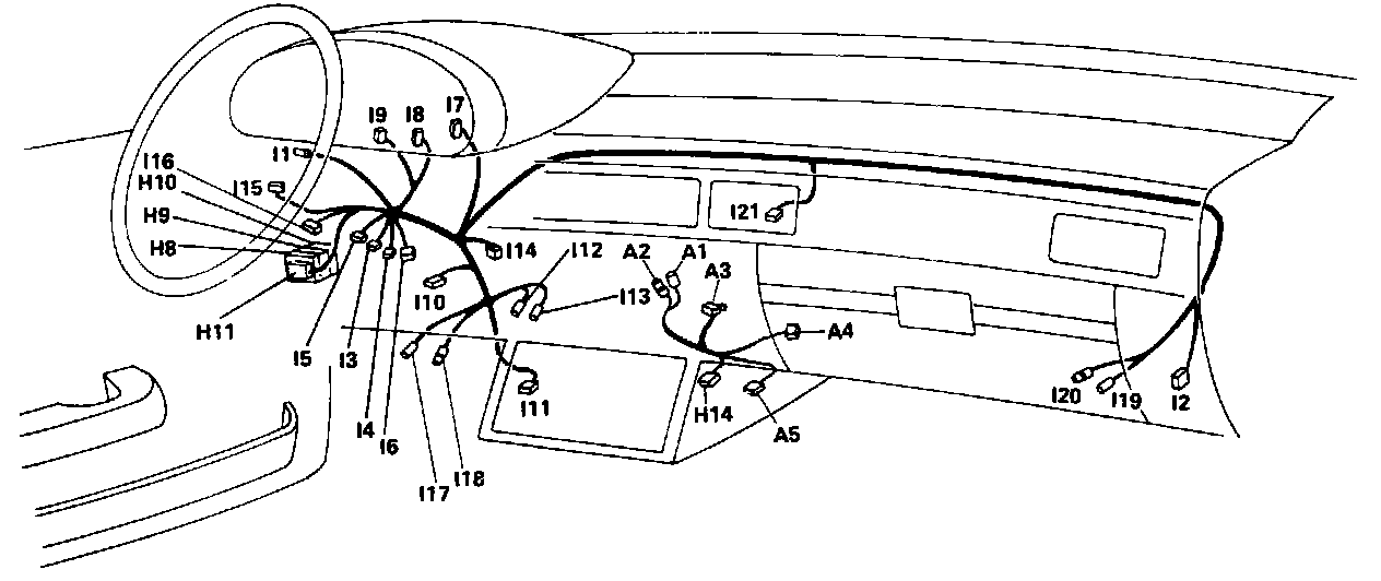
Instrument Panel Wiring:




Body Wiring:





Images

Wiring Identification (1 Of 4):




Wiring Identification (2 Of 4):




Wiring Identification (3 Of 4):




Wiring Identification (4 Of 4):





Index