lemon-mirror:
Home >> GMC >> 2012 >> Terrain FWD L4-2.4L >> Repair and Diagnosis >> Powertrain Management >> Computers and Control Systems >> Body Control Module >> Diagrams >> Liftgate Control Module X1 (TB5)

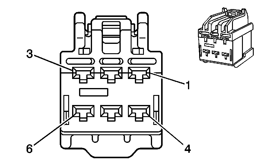
Liftgate Control Module X1 (TB5)




Component Connector End Views

K39 Liftgate Control Module X1 (TB5)