lemon-mirror:
Home >> GMC >> 2012 >> Sierra 2500 4WD V8-6.0L >> Repair and Diagnosis >> Diagrams >> Exploded Views >> Transfer Case >> Transfer Case Disassembled View

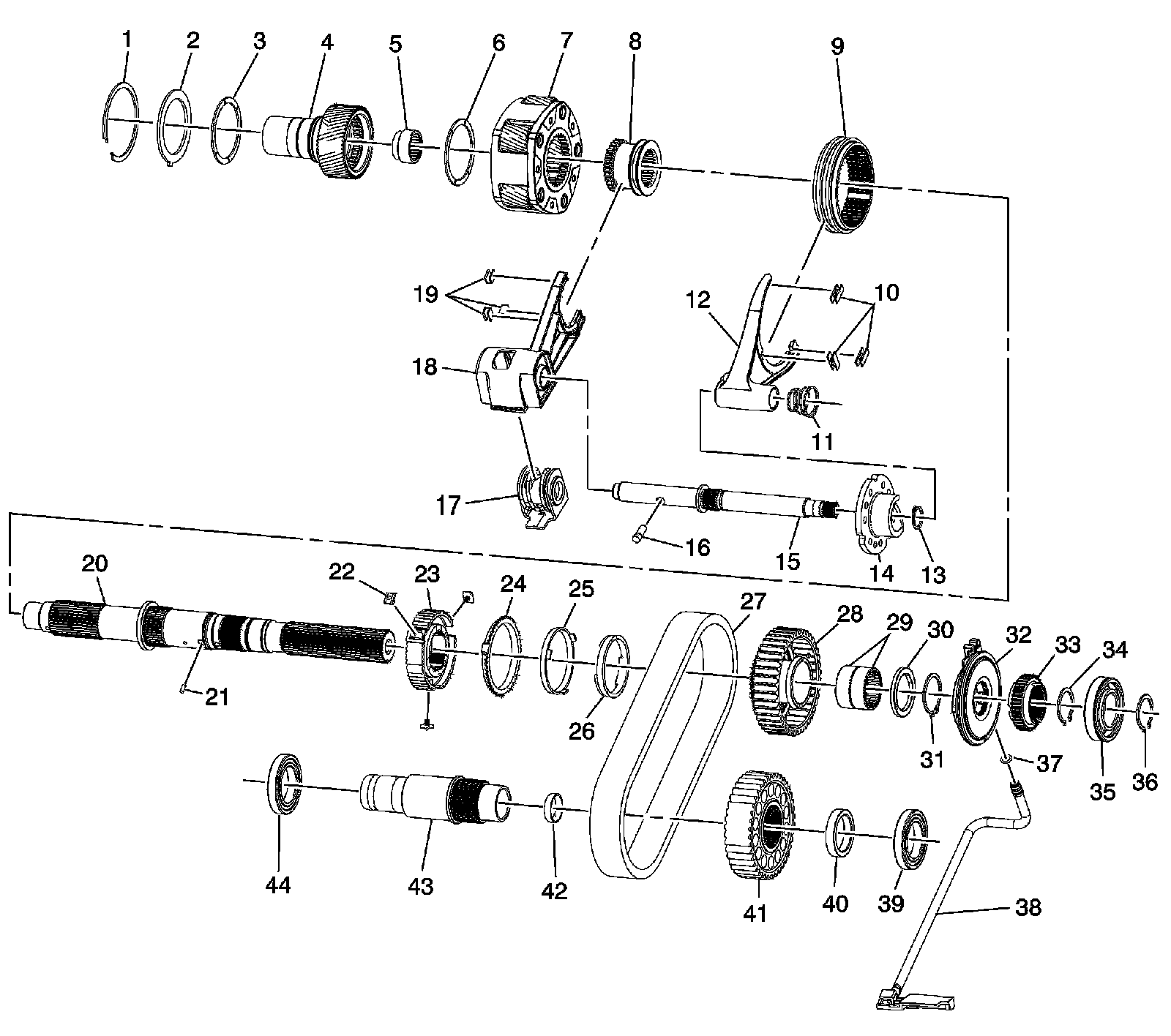
Transfer Case Disassembled View




Transfer Case Disassembled View

Case Half Components




1 - Transfer Case Front Output Shaft Seal
2 - Transfer Case Vent
3 - Transfer Case Input Shaft Seal
4 - Transfer Case Input Shaft Bearing Outer Retaining Ring
5 - Transfer Case Stud
6 - Transfer Case Front Half
7 - Transfer Case Half Locating Pin
7 - Transfer Case Half Locating Pin
8 - Transfer Case Input Shaft Bearing Assembly
9 - Transfer Case Input Shaft Inner Retaining Ring
10 - Transfer Case High/Low Internal Gear
11 - Transfer Case High/Low Internal Gear Retaining Ring
12 - Transfer Case Rear Output Shaft Rear Bearing Outer Retaining Ring
13 - Vehicle Speed Sensor Assembly
14 - Vehicle Speed Sensor - O-Ring - Seal
15 - Transfer Case Rear Half
16 - Transfer Case Access Hole Plug
17 - Transfer Case - Harness - Bracket
18 - Transfer Case Half Bolt/Screw
19 - Transfer Case Rear Output Shaft Bushing
20 - Transfer Case Rear Output Shaft Seal
21 - Transfer Case Two/Four Wheel Drive Actuator Bolt/Screw
22 - Transfer Case Two/Four Wheel Drive Actuator Assembly
23 - Transfer Case Two/Four Wheel Drive Actuator Seal
24 - Transfer Case Oil Fill Plug
25 - Transfer Case Oil Drain Plug
26 - Transfer Case Four Wheel Drive Actuator Lever Shaft Bearing Assembly
27 - Transfer Case Four Wheel Drive Actuator Lever Shaft Bearing Assembly
28 - Transfer Case Shift Detent Plunger Plug
29 - Transfer Case Shift Detent Plunger Plug - O-Ring - Seal
30 - Transfer Case Shift Detent Spring
31 - Transfer Case Shift Detent Plunger
32 - Transfer Case Front Output Shaft Oil Slinger - Model Dependent

Internal Components




1 - Transfer Case High/Low Planetary Carrier Retaining Ring
2 - Transfer Case High/Low Locking Plate
3 - Transfer Case Planetary Carrier Sun Gear Thrust Washer
4 - Transfer Case Input Shaft
5 - Transfer Case Input Shaft Pilot Bearing Assembly
6 - Transfer Case Planetary Carrier Sun Gear Thrust Washer
7 - Transfer Case High/Low Planetary Carrier Assembly
8 - Transfer Case High/Low Clutch
9 - Transfer Case Two/Four Wheel Drive Synchronizer Sleeve
10 - Transfer Case Two/Four Wheel Drive Shift Fork Insert
11 - Transfer Case Shift Fork Spring
12 - Transfer Case Two/Four Wheel Drive Shift Fork Assembly
13 - Transfer Case Two/Four Wheel Drive Actuator Cam Retaining Ring
14 - Transfer Case Two/Four Wheel Drive Actuator Cam
15 - Transfer Case Control Actuator Shaft
16 - Transfer Case High/Low Shift Fork Pin
17 - Transfer Case High/Low Shift Fork Spring Assembly
18 - Transfer Case High/Low Shift Fork
19 - Transfer Case High/Low Shift Fork Pads
20 - Transfer Case Rear Output Shaft
21 - Transfer Case Front Output Shaft Drive Sprocket Spacer Pin
22 - Transfer Case Two/Four Wheel Drive Synchronizer Inserts
23 - Transfer Case Two/Four Wheel Drive Synchronizer Hub
24 - Transfer Case Two/Four Wheel Drive Synchronizer Assembly
25 - Transfer Case Two/Four Wheel Drive Synchronizer Blocking - Outer - Ring
26 - Transfer Case Two/Four Wheel Drive Synchronizer Blocking - Inner - Ring
27 - Transfer Case Front Output Shaft Drive Chain Assembly
28 - Transfer Case Front Output Shaft Drive Sprocket
29 - Transfer Case Front Output Shaft Drive Sprocket Bearing Assembly
30 - Transfer Case Front Output Shaft Drive Sprocket Spacer - Rear
31 - Transfer Case Front Output Shaft Drive Sprocket Retaining Ring
32 - Transfer Case Oil Pump Assembly
33 - Transfer Case Rear Output Shaft Speed Reluctor Wheel
34 - Transfer Case Rear Output Shaft Rear Bearing Retaining Ring
35 - Transfer Case Rear Output Shaft Rear Bearing Assembly
36 - Transfer Case Rear Output Shaft Rear Bearing Retaining Ring
37 - Transfer Case Oil Pump Suction Pipe Seal
38 - Transfer Case Oil Pump Suction Pipe
39 - Transfer Case Front Output Shaft Rear Bearing Assembly
40 - Transfer Case Front Output Shaft Driven Sprocket Spacer
41 - Transfer Case Front Output Shaft Driven Sprocket
42 - Transfer Case Front Output Shaft Hole Plug
43 - Transfer Case Front Output Shaft
44 - Transfer Case Front Output Shaft Front Bearing Assembly