lemon-mirror:
Home >> GMC >> 2011 >> Terrain FWD L4-2.4L >> Repair and Diagnosis >> Maintenance >> Filters >> Fuel Filter >> Service and Repair

Fuel Filter: Service and Repair




Fuel Tank Fuel Pump Module Replacement

Special Tools

J-45722 - Fuel Tank Sender Wrench

For equivalent regional tools, refer to Special Tools (Tools and Equipment).

Removal Procedure

1. Remove the fuel tank. Refer to Fuel Tank Replacement (AWD) (Removal and Replacement)Fuel Tank Replacement (FWD) (Removal and Replacement).
Warning: Refer to Gasoline/Gasoline Vapors Warning (Service Precautions).

2. Disconnect the crossover tube from the secondary fuel pump module. Refer to Fuel Tank Fuel Pump Module Replacement - Secondary (Fuel Tank Fuel Pump Module Replacement - Secondary).




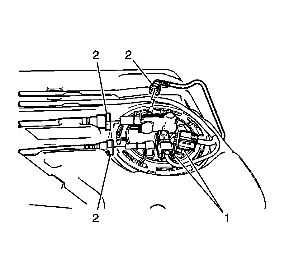
3. Disconnect the electrical connectors (1).
4. Disconnect the fuel and evaporative emission lines (2). Refer to Plastic Collar Quick Connect Fitting Service (Plastic Collar Quick Connect Fitting Service).




5. Using the J-45722 - wrench , remove the cam lock ring (1) by turning counterclockwise.




6. Remove the primary fuel tank module (1) and the O-ring (2).
7. If replacing the fuel pump module only, remove the primary fuel level sensor. Refer to Primary Fuel Level Sensor Replacement (Service and Repair).

Installation Procedure




1. If replacing the fuel pump module only, install the primary fuel level sensor. Refer to Primary Fuel Level Sensor Replacement (Service and Repair).
2. Install a NEW O-ring (2) and the primary fuel tank module (1).




3. Using the J-45722 - wrench , install the cam lock ring (1) by turning clockwise.




4. Connect the electrical connectors (1).
5. Connect the fuel and evaporative emission lines (2). Refer to Plastic Collar Quick Connect Fitting Service (Plastic Collar Quick Connect Fitting Service).
6. Connect the crossover tube to the secondary fuel pump module. Refer to Fuel Tank Fuel Pump Module Replacement - Secondary (Fuel Tank Fuel Pump Module Replacement - Secondary).
7. Install the fuel tank. Refer to Fuel Tank Replacement (AWD) (Removal and Replacement)Fuel Tank Replacement (FWD) (Removal and Replacement).