lemon-mirror:
Home >> GMC >> 2011 >> Sierra 2500 2WD V8-6.0L >> Repair and Diagnosis >> Transmission and Drivetrain >> Power Take-Off >> Service and Repair >> Engine Speed Power Take-Off Control Module Replacement

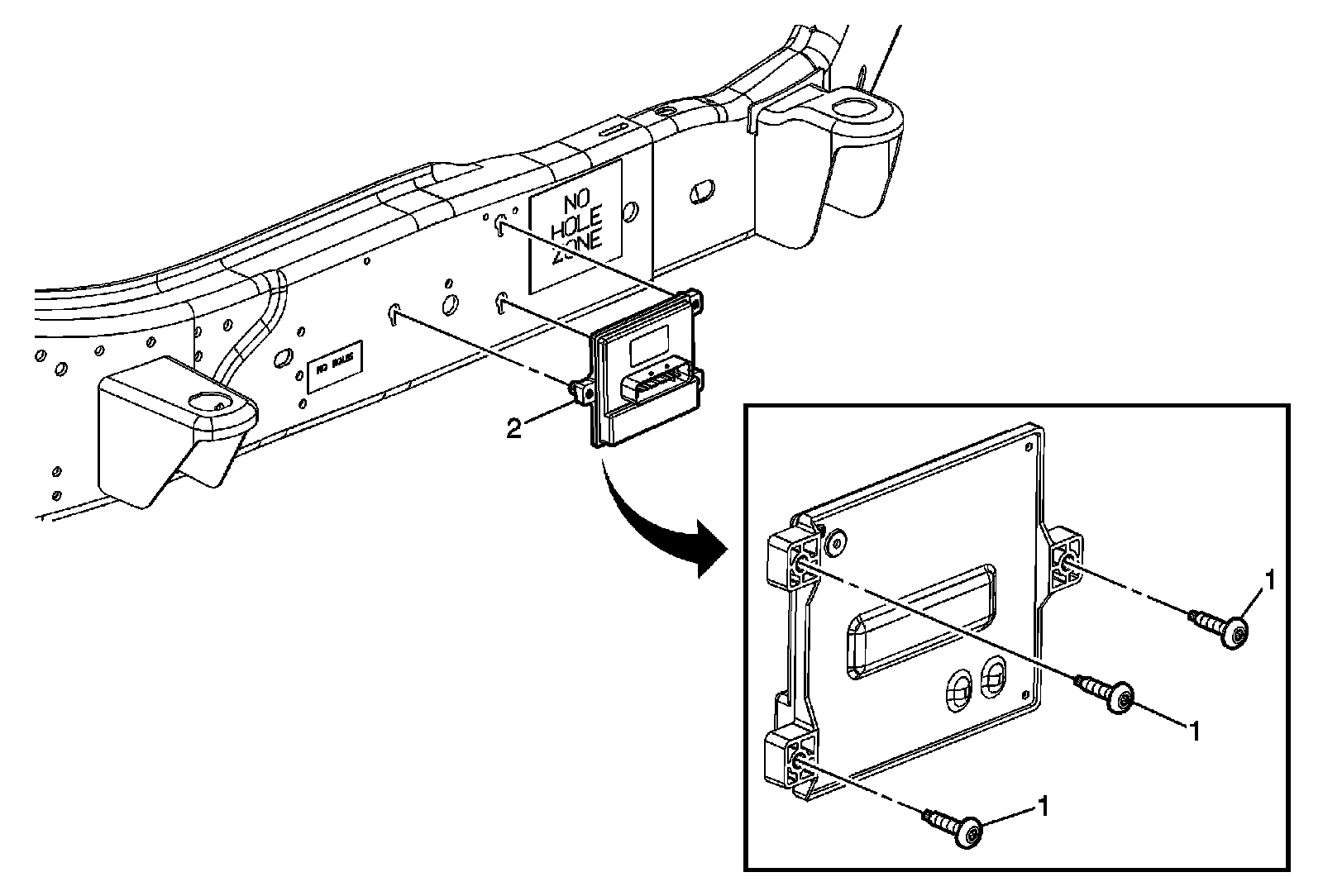
Engine Speed Power Take-Off Control Module Replacement




Engine Speed Power Take-Off Control Module Replacement