lemon-mirror:
Home >> GMC >> 2010 >> Yukon 2WD V8-5.3L >> Repair and Diagnosis >> Locations >> Component Locations >> Powertrain Component Views

Powertrain Component Views




Powertrain Component Views

Top of Engine Components (except LZ1)




1 - Fuel Injector 6
2 - Ignition Coil 8
3 - Fuel Injector 8
4 - Fuel Injector 7
5 - Ignition Coil 7
6 - Fuel Injector 5
7 - Ignition Coil 5
8 - Ignition Coil 3
9 - Fuel Injector 3
10 - Ignition Coil 1
11 - Fuel Injector 1
12 - Manifold Absolute Pressure (MAP) Sensor
13 - Fuel Injector 2
14 - Ignition Coil 2
15 - Ignition Coil 4
16 - Fuel Injector 4
17 - Ignition Coil 6

Left Side of Engine Components (except LZ1)




1 - Generator
2 - Manifold Absolute Pressure (MAP) Sensor
3 - Evaporative Emissions (EVAP) Canister Purge Solenoid Valve
4 - Ignition Coil 1
5 - Ignition Coil 3
6 - Ignition Coil 5
7 - Ignition Coil 7
8 - Engine Block Heater Connector (K05)
9 - Knock Sensor (KS) 1
10 - Engine Coolant Temperature (ECT) Sensor
11 - A/C Compressor Clutch
12 - Camshaft Position (CMP) Sensor
13 - Throttle Body

Right Side of Engine Components (except LZ1)




1 - Ignition Coil 8
2 - Ignition Coil 6
3 - Ignition Coil 4
4 - Ignition Coil 2
5 - PCV Valve
6 - Knock Sensor (KS) 2
7 - Starter Motor
8 - Starter Solenoid
9 - Engine Oil Pressure (EOP) Sensor

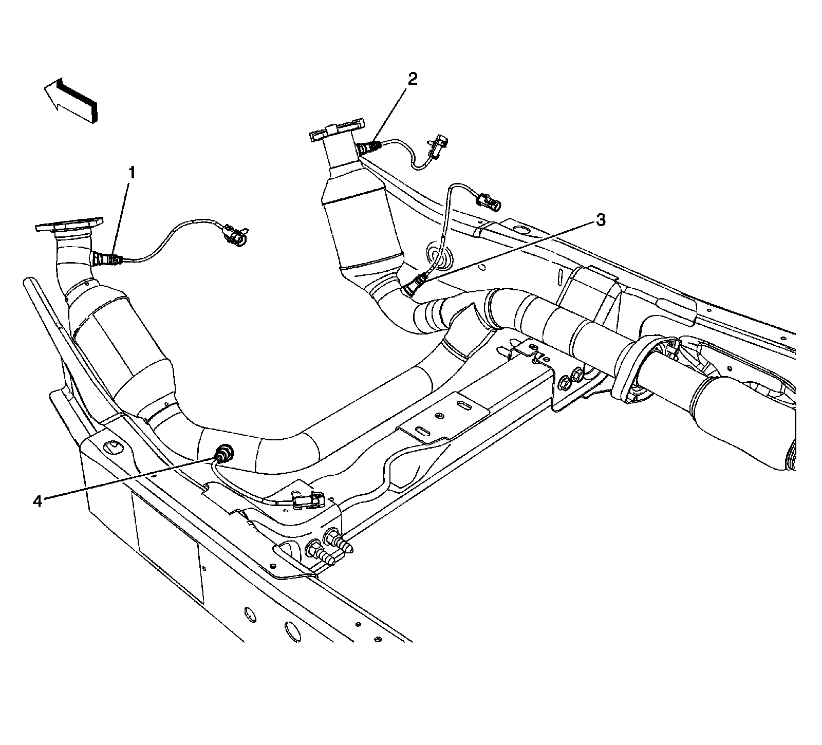
Heated Oxygen Sensors (except LZ1)




1 - Heated Oxygen Sensor (HO2S) Bank 1 Sensor 1
2 - Heated Oxygen Sensor (HO2S) Bank 2 Sensor 1
3 - Heated Oxygen Sensor (HO2S) Bank 2 Sensor 2
4 - Heated Oxygen Sensor (HO2S) Bank 1 Sensor 2

Front of Engine Components (LZ1)




1 - Throttle Body
2 - Camshaft Position (CMP) Sensor

Top Left of Engine Components (LZ1)




1 - Fuel Injector 7
2 - Fuel Injector 5
3 - Fuel Injector 3
4 - Fuel Injector 1
5 - Fuel Injector 2
6 - Fuel Injector 4
7 - Fuel Injector 6
8 - Fuel Injector 8

Left Rear of Engine Components (LZ1)




1 - Engine Block Heater Connector
2 - Engine Coolant Temperature (ECT) Sensor
3 - Ignition Coil 1
4 - Evaporative Emissions (EVAP) Canister Purge Solenoid Valve
5 - Manifold Absolute Pressure (MAP) Sensor
6 - Ignition Coil 3
7 - Ignition Coil 5
8 - Ignition Coil 7
9 - Engine Oil Pressure (EOP) Sensor
10 - Valve Lifter Oil Manifold (VLOM) Assembly
11 - Knock Sensor (KS) 1

Right Rear of Engine Components (LZ1)




1 - Ignition Coil 2
2 - Ignition Coil 8
3 - Ignition Coil 6
4 - Ignition Coil 4
5 - Knock Sensor 2
6 - Crankshaft Position (CKP) Sensor

Rear of Engine Components (LZ1)




1 - Automatic Transmission Output Shaft Speed (OSS) Sensor
2 - Heated Oxygen Sensor (HO2S) - Bank 2 Sensor 1
3 - Heated Oxygen Sensor (HO2S) - Bank 2 Sensor 2
4 - Transmission Power Inverter Module (3 Phase) Cable Cover
5 - Heated Oxygen Sensor (HO2S) - Bank 1 Sensor 2
6 - Heated Oxygen Sensor (HO2S) - Bank 1 Sensor 1

Left Side of the Transmission Components (M30)




1 - Automatic Transmission
2 - Park/Neutral Position (PNP) Switch

Transmission and Transfer Case Components (HP2)




1 - Vehicle Speed Sensor (VSS) (without NQH)
2 - Vehicle Speed Sensor (VSS) (NQH)
3 - Transfer Case Encoder Motor (NQH)
4 - Transfer Case 2/4 Wheel Drive Actuator Position Sensor (NQH)
5 - Transmission Power Inverter Module (3 Phase) Cable Cover

Transmission Interior Components (M30)




36 - Vehicle Speed Sensor (VSS)
66 - Torque Converter Clutch (TCC) Solenoid Valve
69 - Automatic Transmission Fluid Pressure Manual Valve Position Switch
250 - Automatic Transmission Input Shaft Speed (ISS) Sensor
367a - Shift Solenoid (SS) Valve 1
367b - Shift Solenoid (SS) Valve 2
377 - Pressure Control (PC) Solenoid Valve
396 - Torque Converter Clutch (TCC) Pulse Width Modulation (PWM) Solenoid Valve

Transmission Interior Components (MYC or MYD)




1 - Control Solenoid Valve Assembly
2 - Automatic Transmission Input Shaft Speed (ISS) Sensor/Automatic Transmission Output Shaft (OSS) Speed Sensor
3 - Automatic Transmission Internal Mode Switch (IMS)