lemon-mirror:
Home >> GMC >> 2009 >> Yukon 2WD V8-5.3L >> Repair and Diagnosis >> Diagrams >> Exploded Views >> Drive/Propeller Shaft

Drive/Propeller Shaft




Driveline Disassembled Views

Front Propeller Shaft

Front Propeller Shaft:




1 - Propeller Shaft Universal Joint
2 - Propeller Shaft Tube
3 - Propeller Shaft Universal Joint
4 - Propeller Shaft Slip Yoke
5 - Propeller Shaft Rear Slip Yoke Boot Clamp -Front
6 - Propeller Shaft Rear Slip Yoke Boot
7 - Propeller Shaft Rear Slip Yoke Boot Clamp - Rear

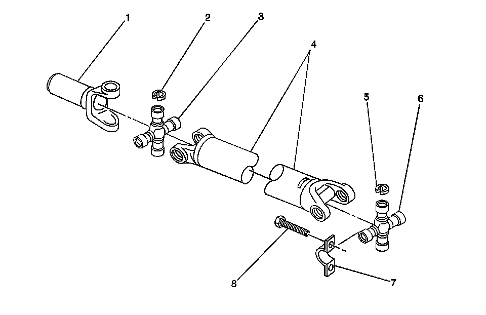
One-Piece Propeller Shaft

One-Piece Propeller Shaft:




1 - Propeller Shaft Slip Yoke
2 - Propeller Shaft Universal Joint Spider Bearing Retainer Ring
3 - Propeller Shaft Universal Joint
4 - Propeller Shaft Tube
5 - Propeller Shaft Universal Joint Spider Bearing Retainer Ring
6 - Propeller Shaft Universal Joint
7 - Propeller Shaft Bearing Retainer
8 - Propeller Shaft Bearing Retainer Bolt