lemon-mirror:
Home >> GMC >> 2009 >> Envoy 2WD V8-5.3L >> Repair and Diagnosis >> Specifications >> Mechanical Specifications >> Engine >> System Specifications >> Thread Repair Specifications

Thread Repair Specifications




Thread Repair Specifications

Engine Block - Front/Rear Views









Engine Block - Left/Right Side Views









Engine Block - Top/Bottom Views









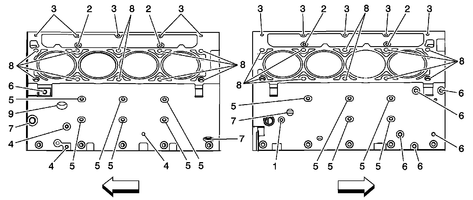
Cylinder Head - Top/End Views









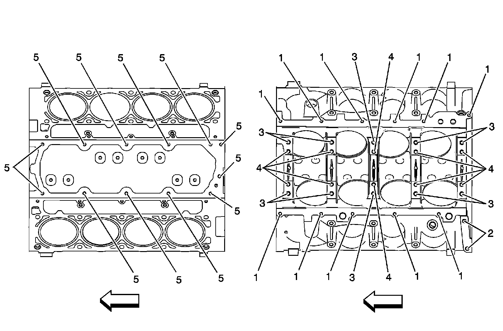
Cylinder Head - Intake/Exhaust Side Views