lemon-mirror:
Home >> GMC >> 2008 >> Yukon 2WD V8-5.3L >> Repair and Diagnosis >> Diagrams >> Connector Views >> Engine Control Module

Engine Control Module



Component Connector End Views

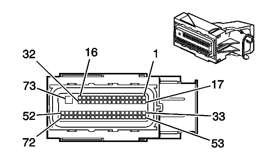
Engine Control Module (ECM) X1









Engine Control Module (ECM) X1 (Pin 1 To 59):





Engine Control Module (ECM) X1 (Pin 60 To 73):






Engine Control Module (ECM) X2









Engine Control Module (ECM) X2 (Pin 1 To 50):





Engine Control Module (ECM) X2 (Pin 51 To 80):