lemon-mirror:
Home >> GMC >> 2008 >> Yukon 2WD V8-4.8L >> Repair and Diagnosis >> Diagrams >> Connector Views >> Central Control Module

Central Control Module



Component Connector End Views - Continued

Vehicle Communication Interface Module (VCIM) X1 (UE1)














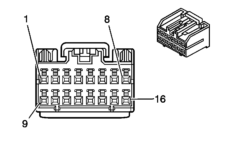
Vehicle Communication Interface Module (VCIM) X2 (UE1)














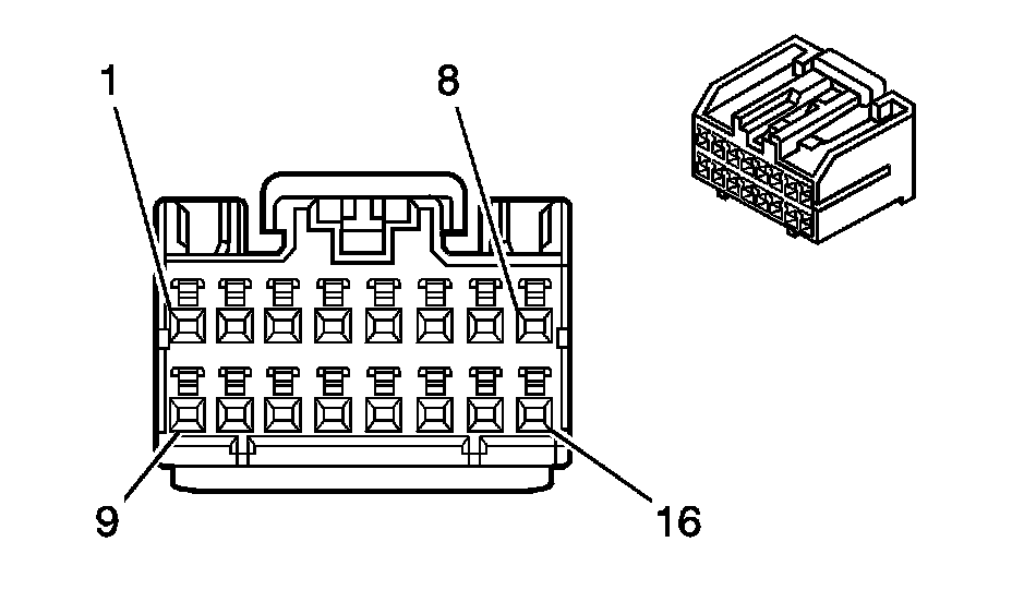
Vehicle Communication Interface Module (VCIM) X3 (UE1 +U3R/U3U/UVB)