lemon-mirror:
Home >> GMC >> 2008 >> Acadia FWD V6-3.6L >> Repair and Diagnosis >> Powertrain Management >> Computers and Control Systems >> Engine Control Module >> Diagrams >> Diagram Information and Instructions

Diagram Information and Instructions



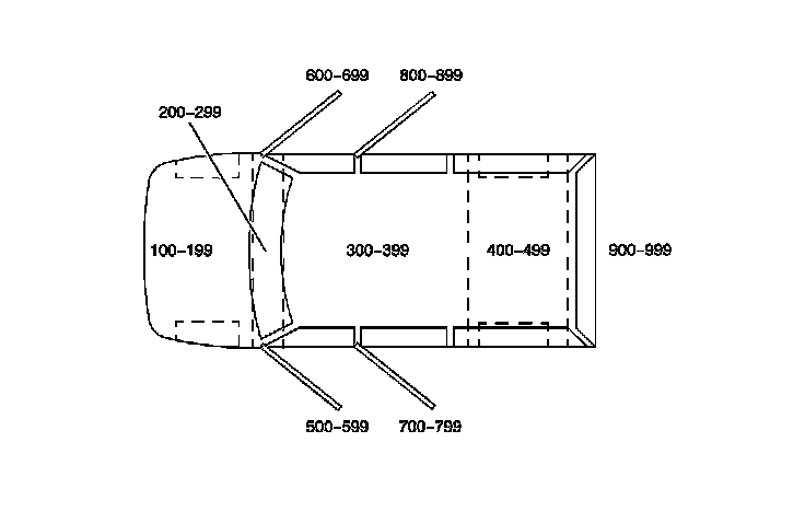
Utility/Van Zoning








All grounds, in-line connectors, pass-through grommets, and splices have identifying numbers that correspond to where they are located in the vehicle. The following table explains the numbering system.