lemon-mirror:
Home >> GMC >> 2008 >> Acadia FWD V6-3.6L >> Repair and Diagnosis >> Body and Frame >> Seats >> Power Seat Control Module >> Locations

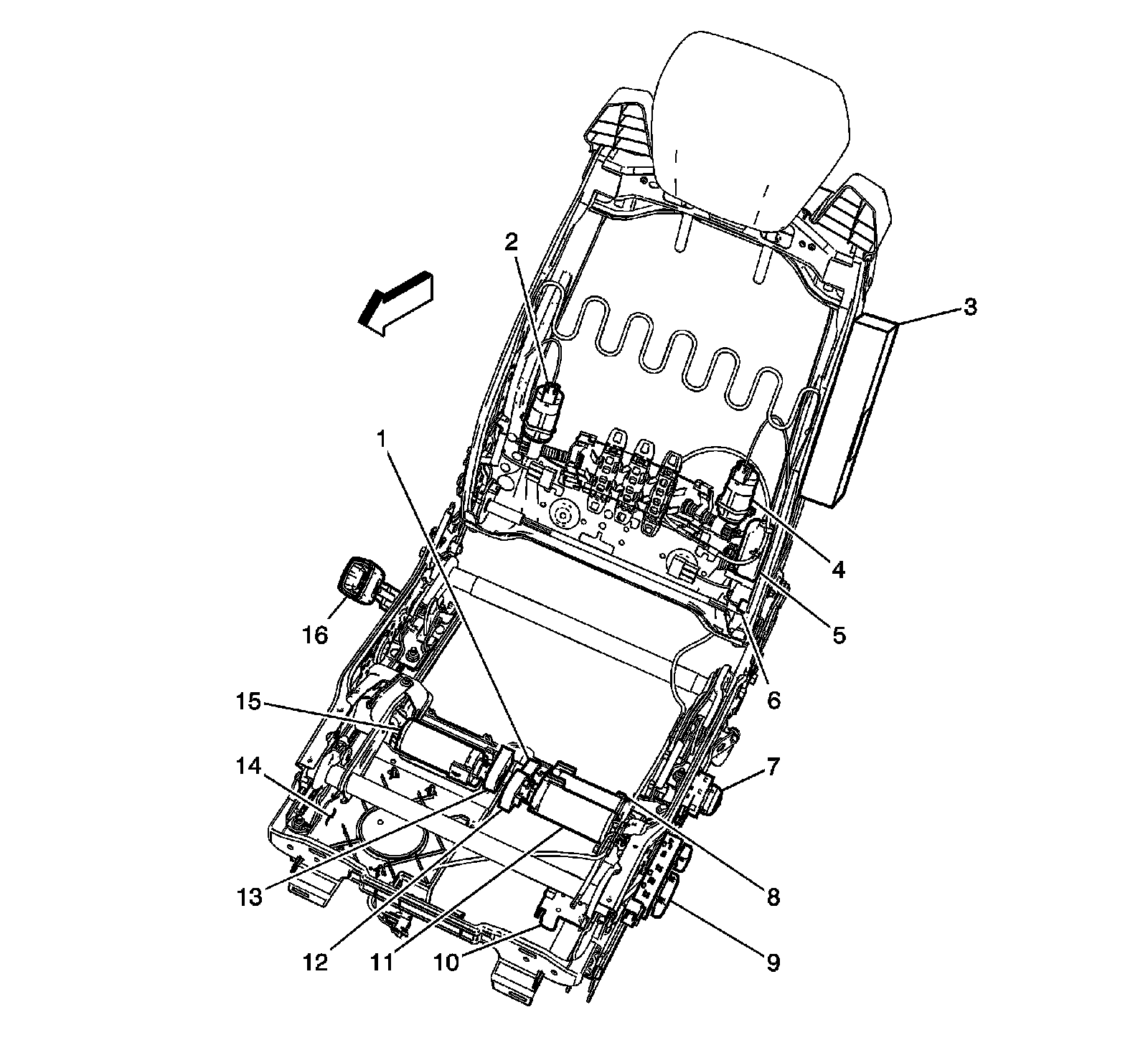
Power Seat Control Module: Locations



Passenger Compartment/Roof Component Views

Driver Seat (AG3)




1 - Seat Horizontal Position Sensor
2 - Seat Lumbar Vertical Motor - Driver
3 - Inflatable Restraint Side Impact Module - Left
4 - Seat Lumbar Horizontal Motor - Driver
5 - Seat Recline Motor - Driver
6 - Seat Recline Position Sensor - Driver
7 - Seat Lumbar Switch - Driver
8 - Seat Horizontal Motor - Driver
9 - Seat Adjuster Switch - Driver
10 - Inflatable Restraint Seat Position Sensor (SPS) - Driver (W49)
11 - Seat Rear Vertical Motor - Driver
12 - Seat Rear Vertical Position Sensor
13 - Seat Front Vertical Position Sensor
14 - Memory Seat Module
15 - Seat Front Vertical Motor - Driver
16 - Seat Belt Switch - Driver