lemon-mirror:
Home >> GMC >> 2007 >> Envoy 2WD V8-5.3L >> Repair and Diagnosis >> Transmission and Drivetrain >> Automatic Transmission/Transaxle >> Control Module >> Diagrams

Control Module: Diagrams



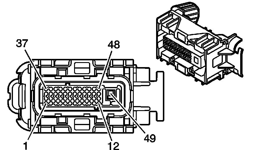
Transmission Control Module (TCM), Engine Side (5.3L and 6.0L)

Transmission Control Module (TCM), Engine Side:







Transmission Control Module (TCM), Engine Side (5.3L and 6.0L):